首页
专利数据库
产业人才
行业动态
产业政策法规
维权援助
个人中心
登录/注册
详情
文本
图像
标题:
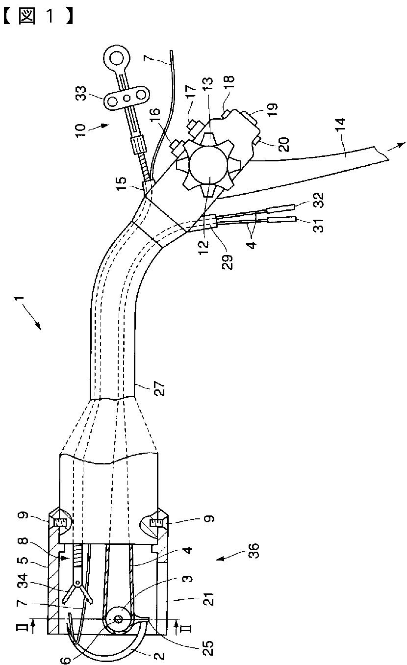
内視鏡用縫合器
授权日:
2008-07-11
公开(公告)号:
JP4153187B2
申请日:
2001-10-01
公开(公告)日:
2008-09-17
当前申请(专利权)人:
鍾 尚志 | オリンパス株式会社
发明人:
鍾 尚志 | 水野 均 | 山本 哲也
简单同族:
JP2002159499A | JP2008142571A | JP4153187B2 | US20020116011A1 | US6719763
简单同族成员数量:
5
简单同族被引用专利总数:
416
诉讼案件数:
0
法律状态/事件:
授权 | 权利转移