首页
专利数据库
产业人才
行业动态
产业政策法规
维权援助
个人中心
登录/注册
详情
文本
图像
标题:
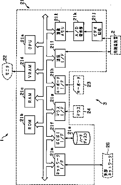
内視鏡画像ファイリングシステム
授权日:
1900-01-01
公开(公告)号:
JP2003164413A
申请日:
2001-12-03
公开(公告)日:
2003-06-10
当前申请(专利权)人:
オリンパス光学工業株式会社
发明人:
渡井 信 | 柴田 裕之
简单同族:
EP1316911A2 | EP1316911A3 | JP2003164413A | US20030128400A1 | US7321673
简单同族成员数量:
5
简单同族被引用专利总数:
57
诉讼案件数:
0
法律状态/事件:
驳回