首页
专利数据库
产业人才
行业动态
产业政策法规
维权援助
个人中心
登录/注册
详情
文本
图像
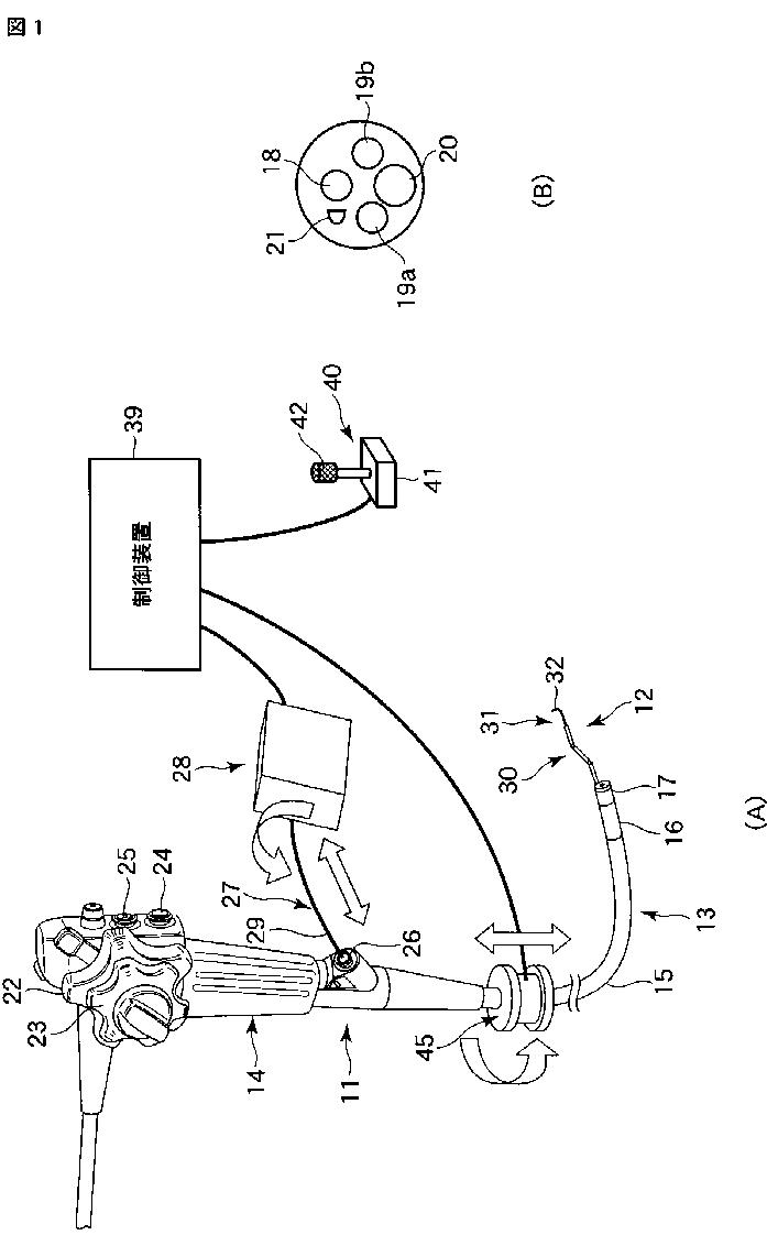
标题:
内視鏡処置システム
授权日:
1900-01-01
公开(公告)号:
JP2010022762A
申请日:
2008-07-24
公开(公告)日:
2010-02-04
当前申请(专利权)人:
オリンパスメディカルシステムズ株式会社
发明人:
吉江 方史
简单同族:
CN101632571A | CN101632571B | EP2147630A2 | EP2147630A3 | EP2147630B1 | JP2010022762A | JP5384869B2 | US20100022825A1
简单同族成员数量:
8
简单同族被引用专利总数:
180
诉讼案件数:
0
法律状态/事件:
授权 | 权利转移