首页
专利数据库
产业人才
行业动态
产业政策法规
维权援助
个人中心
登录/注册
详情
文本
图像
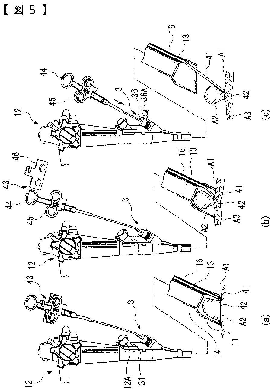
标题:
内視鏡用フード及び内視鏡用粘膜切除具
授权日:
2009-02-27
公开(公告)号:
JP4266743B2
申请日:
2003-08-08
公开(公告)日:
2009-05-20
当前申请(专利权)人:
オリンパス株式会社
发明人:
岡田 勉
简单同族:
DE102004037830A1 | DE102004037830B4 | JP2005058343A | JP4266743B2 | US20050033115A1 | US7122002
简单同族成员数量:
6
简单同族被引用专利总数:
62
诉讼案件数:
0
法律状态/事件:
授权 | 权利转移