首页
专利数据库
产业人才
行业动态
产业政策法规
维权援助
个人中心
登录/注册
详情
文本
图像
标题:
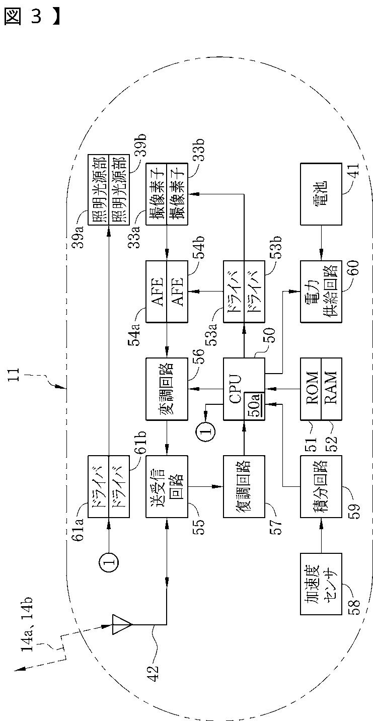
カプセル内視鏡、およびカプセル内視鏡システム、並びにカプセル内視鏡の作動方法
授权日:
2012-06-22
公开(公告)号:
JP5019589B2
申请日:
2007-03-28
公开(公告)日:
2012-09-05
当前申请(专利权)人:
富士フイルム株式会社
发明人:
西納 直行
简单同族:
JP2008237640A | JP5019589B2 | US20080242926A1 | US8562515
简单同族成员数量:
4
简单同族被引用专利总数:
61
诉讼案件数:
0
法律状态/事件:
未缴年费