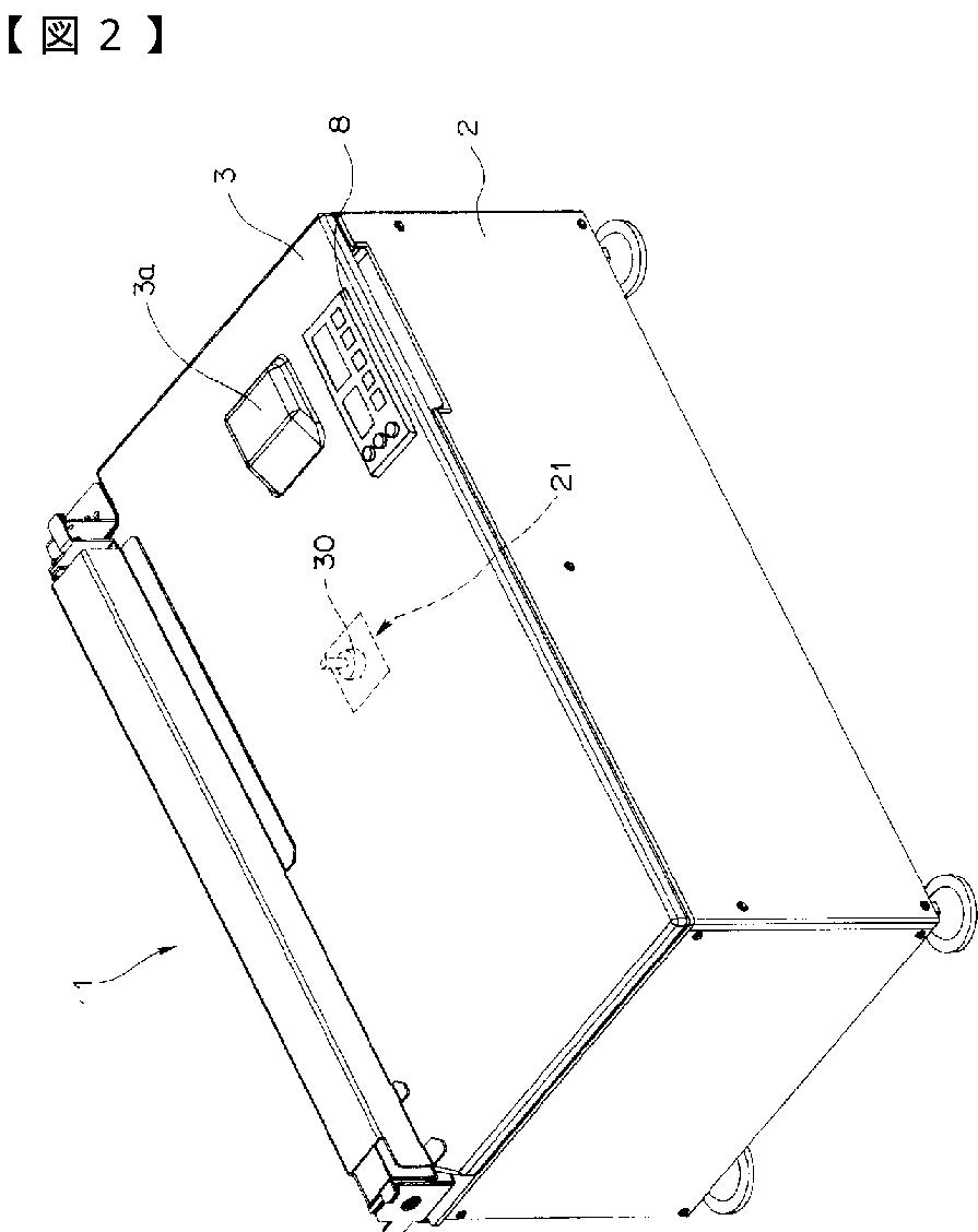
标题:
内視鏡洗浄消毒装置及びこの内視鏡洗浄消毒装置による漏水検知方法
授权日:
2013-02-01
公开(公告)号:
JP5188800B2
申请日:
2007-12-21
公开(公告)日:
2013-04-24
当前申请(专利权)人:
オリンパスメディカルシステムズ株式会社
发明人:
大西 秀人 | 小林 健一 | 野崎 桂輔 | 鈴木 信太郎 | 田谷 直也 | 冨田 雅彦 | 野口 利昭 | 鈴木 英理
简单同族:
CN101461703A | CN101461703B | EP2080486A2 | EP2080486A3 | EP2080486A8 | EP2080486B1 | JP2009148489A | JP5188800B2 | KR100964769B1 | KR1020090068184A | US20090158539A1 | US8176771
简单同族成员数量:
12
简单同族被引用专利总数:
46
诉讼案件数:
0
法律状态/事件:
授权 | 权利转移