首页
专利数据库
产业人才
行业动态
产业政策法规
维权援助
个人中心
登录/注册
详情
文本
图像
标题:
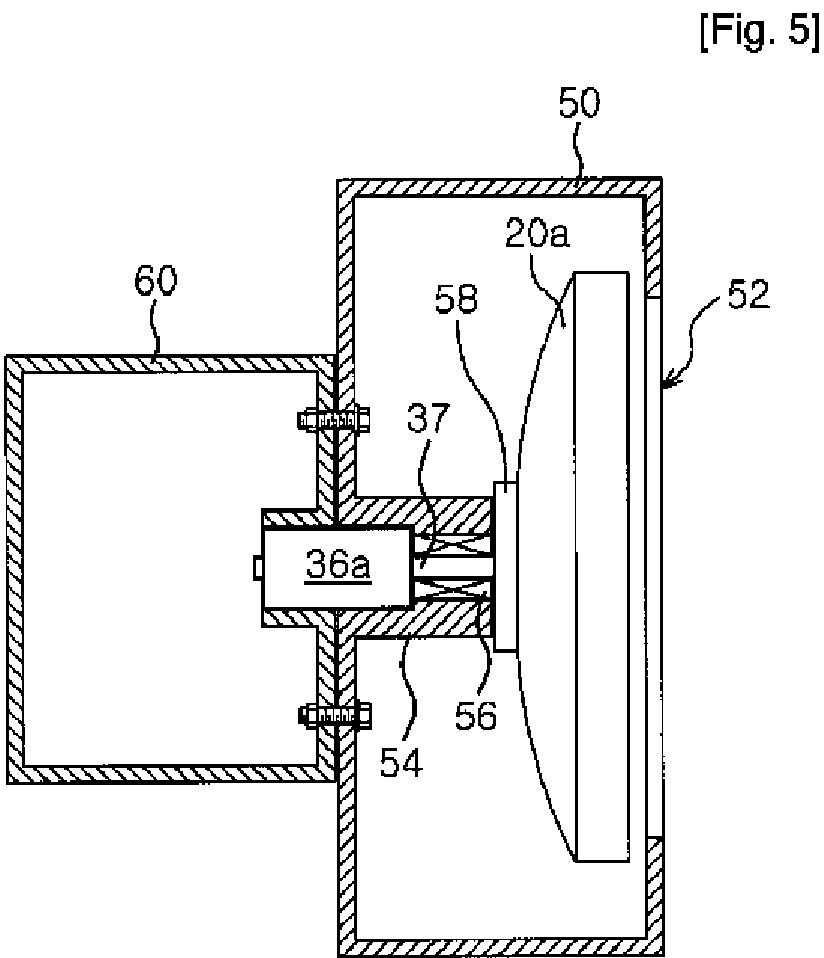
腹腔鏡手術用モニター装置及びそのディスプレイ方法
授权日:
2011-11-11
公开(公告)号:
JP4860629B2
申请日:
2005-10-18
公开(公告)日:
2012-01-25
当前申请(专利权)人:
キム,ジェ ファン
发明人:
キム,ジェ ファン
简单同族:
CN101014281A | DE112005002553T5 | EP1804644A1 | GB0707910D0 | GB2434319A | JP2008517703A | JP4860629B2 | KR100681233B1 | KR1020060037671A | US20080103354A1 | US20120296164A1 | US8187167 | WO2006046809A1
简单同族成员数量:
13
简单同族被引用专利总数:
41
诉讼案件数:
0
法律状态/事件:
授权 | 权利转移