首页
专利数据库
产业人才
行业动态
产业政策法规
维权援助
个人中心
登录/注册
详情
文本
图像
标题:
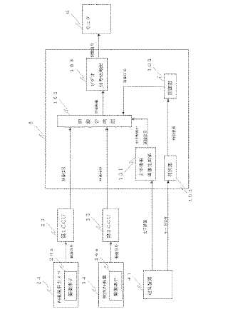
手術システム
授权日:
1900-01-01
公开(公告)号:
JP2006061214A
申请日:
2004-08-24
公开(公告)日:
2006-03-09
当前申请(专利权)人:
オリンパス株式会社
发明人:
佐野 大輔 | 野田 賢司 | 上杉 武文 | 重昆 充彦
简单同族:
JP2006061214A | US20060058617A1
简单同族成员数量:
2
简单同族被引用专利总数:
32
诉讼案件数:
0
法律状态/事件:
驳回