首页
专利数据库
产业人才
行业动态
产业政策法规
维权援助
个人中心
登录/注册
详情
文本
图像
标题:
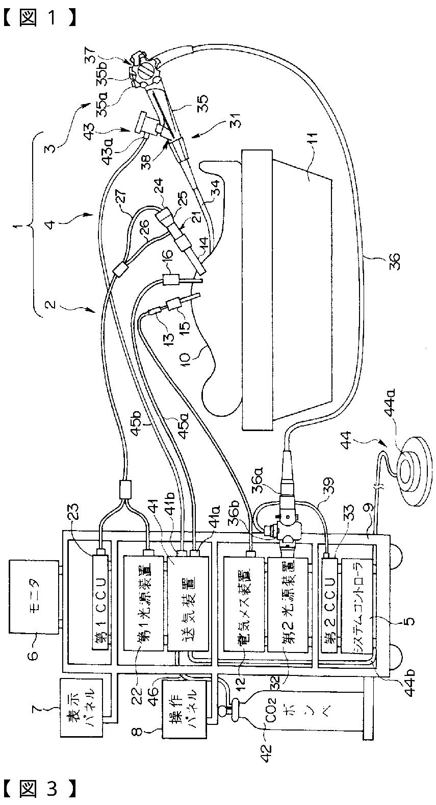
内視鏡外科手術システム
授权日:
2010-11-12
公开(公告)号:
JP4624707B2
申请日:
2004-03-31
公开(公告)日:
2011-02-02
当前申请(专利权)人:
オリンパス株式会社
发明人:
上杉 武文 | 佐野 大輔 | 野田 賢司 | 重昆 充彦
简单同族:
JP2005287839A | JP4624707B2 | US20050222491A1 | US8734381
简单同族成员数量:
4
简单同族被引用专利总数:
55
诉讼案件数:
0
法律状态/事件:
授权 | 权利转移