首页
专利数据库
产业人才
行业动态
产业政策法规
维权援助
个人中心
登录/注册
详情
文本
图像
标题:
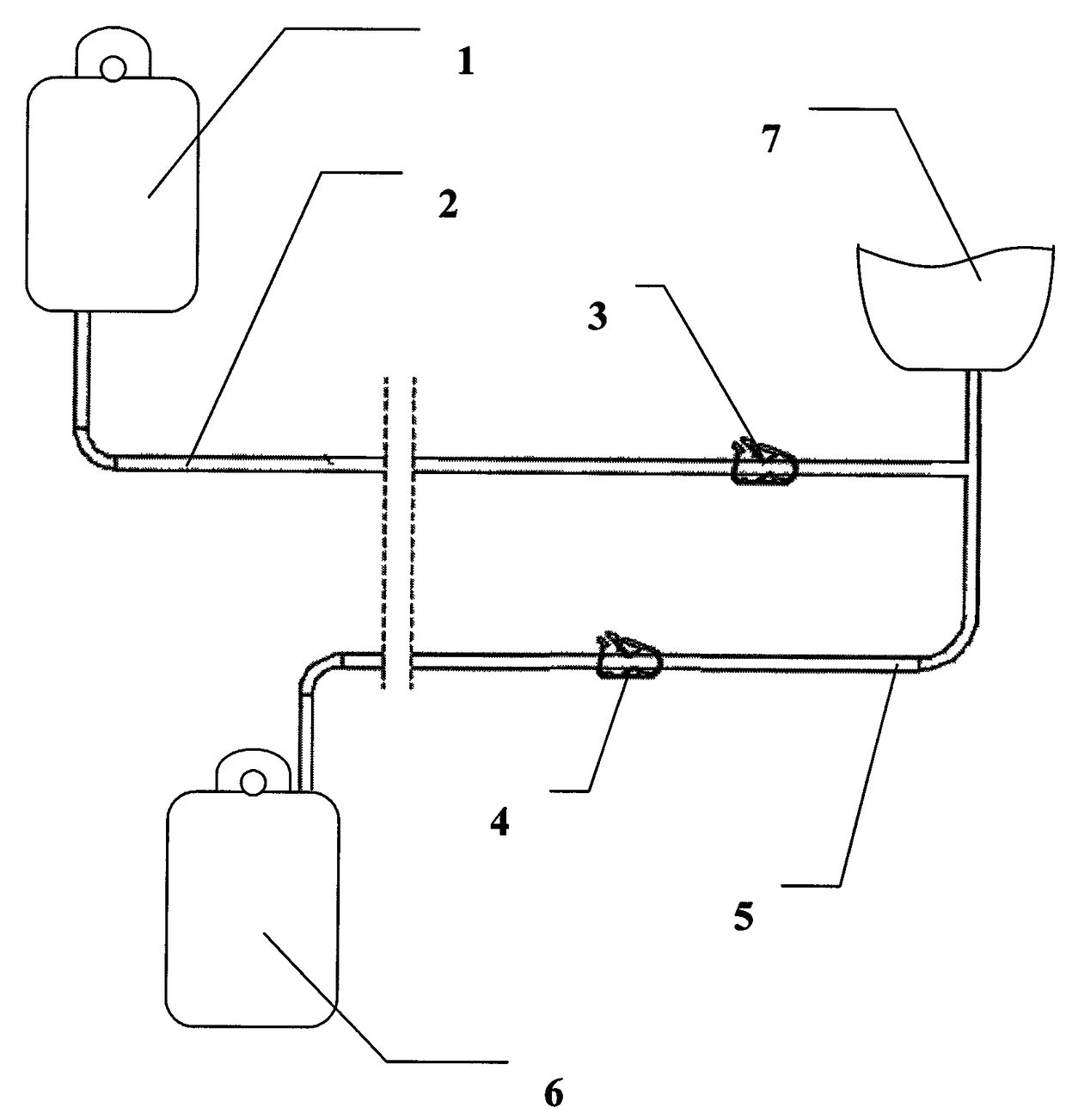
一次性使用手术冲洗引流器
授权日:
2012-03-14
公开(公告)号:
CN202161621U
申请日:
2011-07-19
公开(公告)日:
2012-03-14
当前申请(专利权)人:
威海众和康复材料股份有限公司
发明人:
郭媛 | 孙连成 | 穆培永
简单同族:
CN202161621U
简单同族成员数量:
1
简单同族被引用专利总数:
0
诉讼案件数:
0
法律状态/事件:
未缴年费