首页
专利数据库
产业人才
行业动态
产业政策法规
维权援助
个人中心
登录/注册
详情
文本
图像
标题:
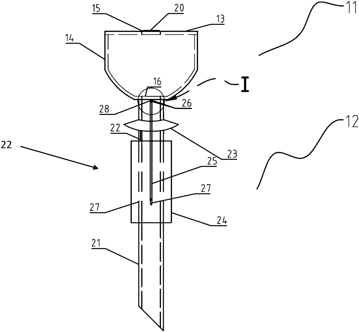
腔镜手术密封导引器
授权日:
2016-09-14
公开(公告)号:
CN205568986U
申请日:
2016-02-14
公开(公告)日:
2016-09-14
当前申请(专利权)人:
中国人民解放军第二军医大学
发明人:
丁瑞芳 | 耿明珠 | 黄燕 | 陆叶青
简单同族:
CN205568986U
简单同族成员数量:
1
简单同族被引用专利总数:
0
诉讼案件数:
0
法律状态/事件:
未缴年费