首页
专利数据库
产业人才
行业动态
产业政策法规
维权援助
个人中心
登录/注册
详情
文本
图像
标题:
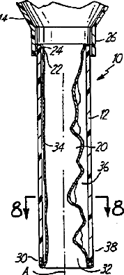
气密的剖腹接入器具
授权日:
2005-02-23
公开(公告)号:
CN1190170C
申请日:
2001-01-16
公开(公告)日:
2005-02-23
当前申请(专利权)人:
伊西康内外科公司
发明人:
F・C・彼得森
简单同族:
AU2001029562A1 | AU774922B2 | CA2397118A1 | CA2397118C | CN1190170C | CN1398173A | DE60115198D1 | DE60115198T2 | EP1248572A1 | EP1248572B1 | ES2254440T3 | JP2003520098A | JP4485110B2 | MXPA02006985A | US6447489 | WO2001052754A1
简单同族成员数量:
16
简单同族被引用专利总数:
250
诉讼案件数:
0
法律状态/事件:
授权