首页
专利数据库
产业人才
行业动态
产业政策法规
维权援助
个人中心
登录/注册
详情
文本
图像
标题:
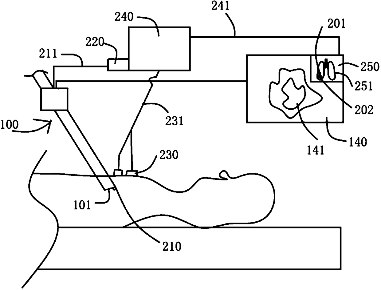
一种胸腔镜手术定位系统
授权日:
2015-08-12
公开(公告)号:
CN204542355U
申请日:
2015-03-23
公开(公告)日:
2015-08-12
当前申请(专利权)人:
上海市肺科医院
发明人:
施哲 | 陈昶 | 姜格宁
简单同族:
CN204542355U
简单同族成员数量:
1
简单同族被引用专利总数:
0
诉讼案件数:
0
法律状态/事件:
授权