首页
专利数据库
产业人才
行业动态
产业政策法规
维权援助
个人中心
登录/注册
详情
文本
图像
标题:
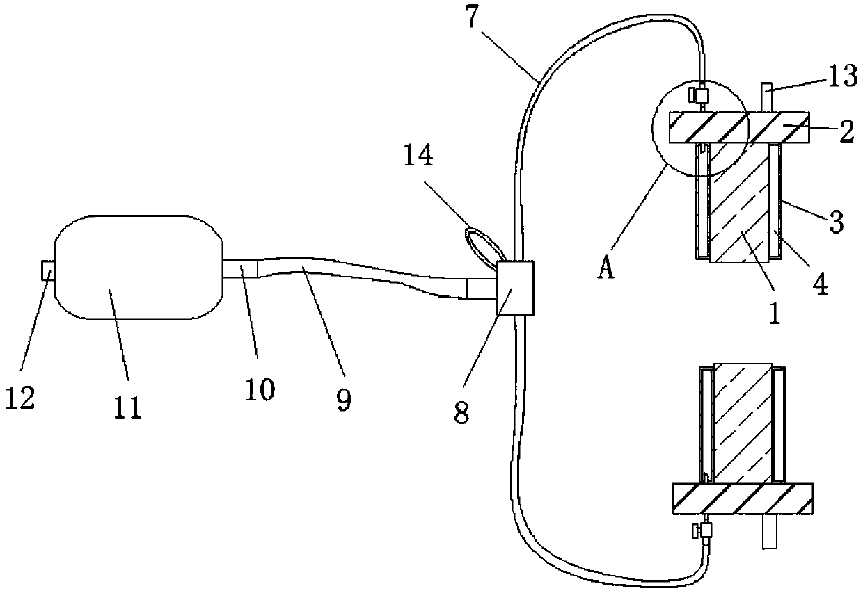
一种用于输尿管镜的封口装置
授权日:
2019-12-24
公开(公告)号:
CN209826658U
申请日:
2019-01-26
公开(公告)日:
2019-12-24
当前申请(专利权)人:
安多特(北京)内窥镜技术有限公司
发明人:
周平
简单同族:
CN209826658U
简单同族成员数量:
1
简单同族被引用专利总数:
0
诉讼案件数:
0
法律状态/事件:
授权