首页
专利数据库
产业人才
行业动态
产业政策法规
维权援助
个人中心
登录/注册
详情
文本
图像
标题:
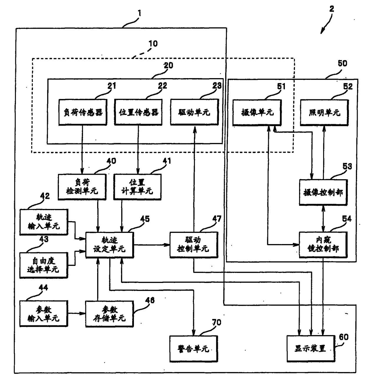
机械手装置和医疗设备系统
授权日:
2011-12-14
公开(公告)号:
CN101422901B
申请日:
2008-10-24
公开(公告)日:
2011-12-14
当前申请(专利权)人:
奥林巴斯株式会社
发明人:
梅本义孝 | 高桥和彦 | 野波徹绪
简单同族:
CN101422901A | CN101422901B | EP2058090A2 | EP2058090A3 | EP2058090B1 | JP2009107074A | JP2009107074A5 | JP5028219B2 | US20090112316A1 | US8388605
简单同族成员数量:
10
简单同族被引用专利总数:
80
诉讼案件数:
0
法律状态/事件:
授权 | 权利转移