首页
专利数据库
产业人才
行业动态
产业政策法规
维权援助
个人中心
登录/注册
详情
文本
图像
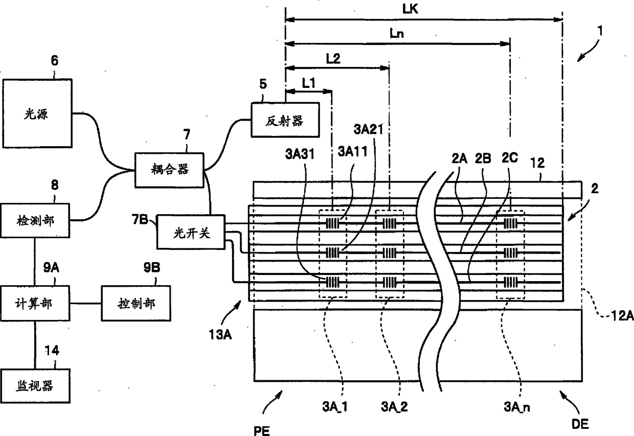
标题:
医疗设备
授权日:
2014-03-12
公开(公告)号:
CN102196761B
申请日:
2009-10-28
公开(公告)日:
2014-03-12
当前申请(专利权)人:
奥林巴斯株式会社
发明人:
小野田文幸 | 牛房浩行 | 织田朋彦 | 长谷川润 | 福地正巳 | 平川克己
简单同族:
CN102196761A | CN102196761B | EP2351509A1 | EP2351509A4 | JP4759654B2 | JPWO2010050526A1 | US20110098533A1 | US8439826 | WO2010050526A1
简单同族成员数量:
9
简单同族被引用专利总数:
148
诉讼案件数:
0
法律状态/事件:
授权 | 权利转移