首页
专利数据库
产业人才
行业动态
产业政策法规
维权援助
个人中心
登录/注册
详情
文本
图像
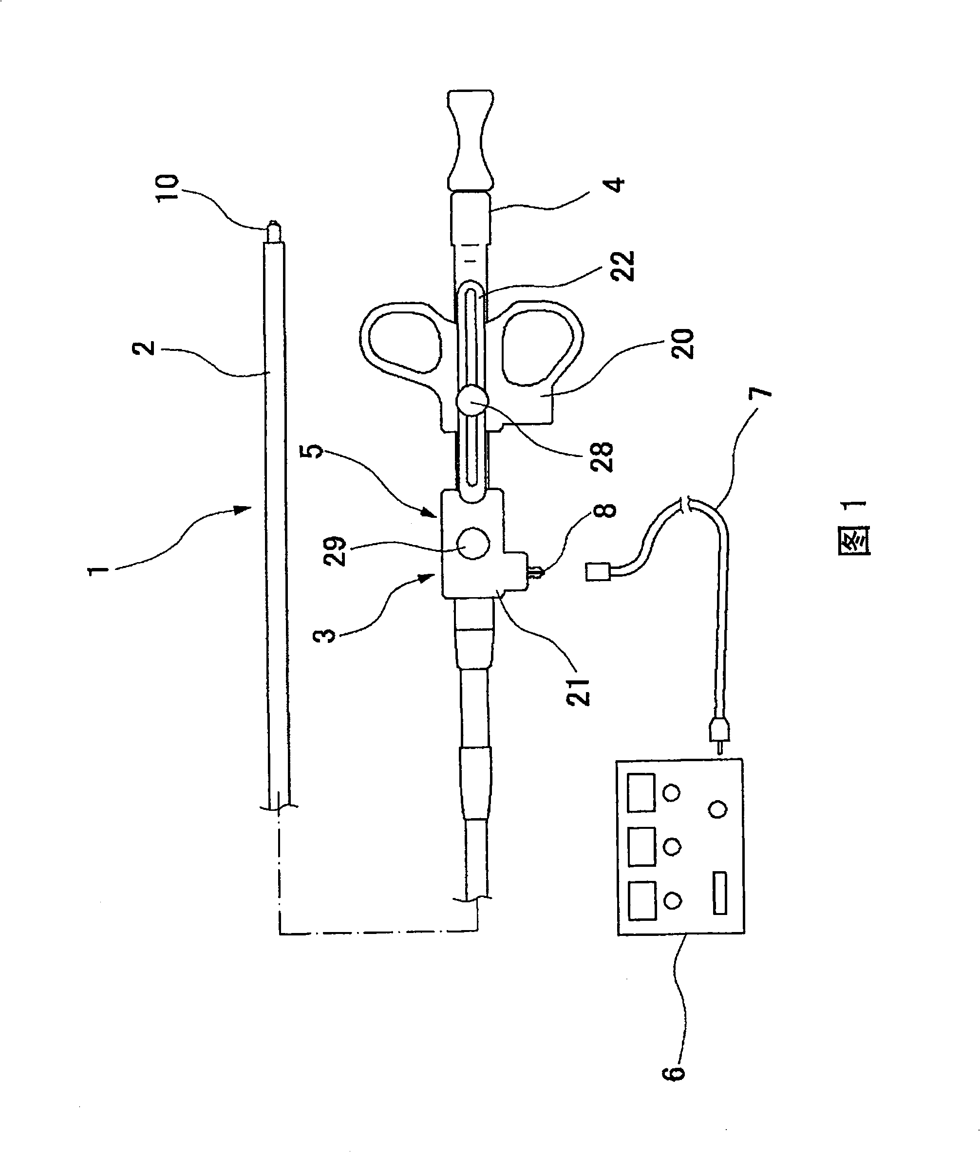
标题:
高频处理器
授权日:
2009-08-19
公开(公告)号:
CN100528096C
申请日:
2007-06-21
公开(公告)日:
2009-08-19
当前申请(专利权)人:
富士能株式会社
发明人:
大谷津昌行
简单同族:
AT423524T | CN100528096C | CN101091672A | DE602007000580D1 | EP1870052A2 | EP1870052A3 | EP1870052B1 | JP2008000386A | JP4471125B2 | US20080045785A1
简单同族成员数量:
10
简单同族被引用专利总数:
35
诉讼案件数:
0
法律状态/事件:
未缴年费