首页
专利数据库
产业人才
行业动态
产业政策法规
维权援助
个人中心
登录/注册
详情
文本
图像
标题:
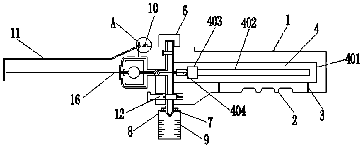
一种一体式安全腰椎穿刺器
授权日:
1900-01-01
公开(公告)号:
CN110495910A
申请日:
2019-09-23
公开(公告)日:
2019-11-26
当前申请(专利权)人:
常州安康医疗器械有限公司
发明人:
王春华 | 李莹 | 李志伟 | 李高 | 张玲 | 瞿淙 | 查志远
简单同族:
CN110495910A
简单同族成员数量:
1
简单同族被引用专利总数:
0
诉讼案件数:
0
法律状态/事件:
实质审查