首页
专利数据库
产业人才
行业动态
产业政策法规
维权援助
个人中心
登录/注册
详情
文本
图像
标题:
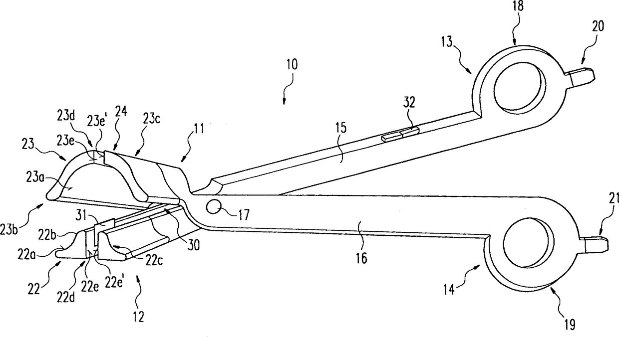
电外科器具
授权日:
2012-05-30
公开(公告)号:
CN101001581B
申请日:
2005-07-14
公开(公告)日:
2012-05-30
当前申请(专利权)人:
爱尔伯电子医疗设备公司
发明人:
迪特尔・哈夫纳
简单同族:
CN101001581A | CN101001581B | DE102004055670A1 | EP1778113A1 | EP1778113B1 | JP2008508964A | JP2008508964A5 | US20070185487A1 | US7972331 | WO2006018083A1
简单同族成员数量:
10
简单同族被引用专利总数:
39
诉讼案件数:
0
法律状态/事件:
授权