首页
专利数据库
产业人才
行业动态
产业政策法规
维权援助
个人中心
登录/注册
详情
文本
图像
标题:
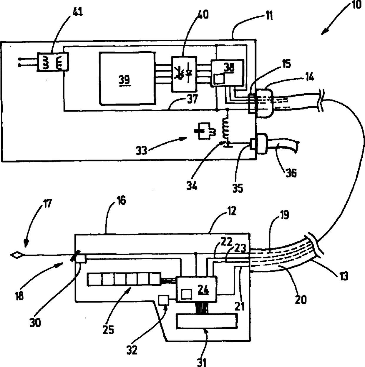
具有数字数据接口的外科仪器
授权日:
1900-01-01
公开(公告)号:
CN102727302A
申请日:
2012-03-09
公开(公告)日:
2012-10-17
当前申请(专利权)人:
厄比电子医学有限责任公司
发明人:
T·鲍尔 | P·塞利希 | M·克格雷斯
简单同族:
CN102727302A | CN102727302B | EP2497427A1 | EP2497427B1 | JP2012187408A | JP5481509B2 | PL2497427T3 | US20120232540A1 | US9131953
简单同族成员数量:
9
简单同族被引用专利总数:
46
诉讼案件数:
0
法律状态/事件:
授权