首页
专利数据库
产业人才
行业动态
产业政策法规
维权援助
个人中心
登录/注册
详情
文本
图像
标题:
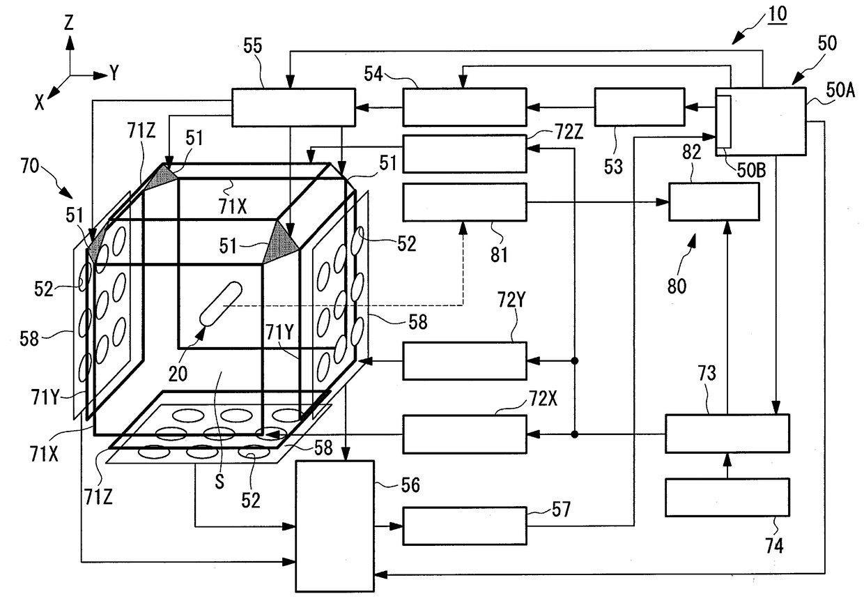
医用装置、和医用磁感应及位置检测系统
授权日:
2015-07-22
公开(公告)号:
CN103251409B
申请日:
2005-12-16
公开(公告)日:
2015-07-22
当前申请(专利权)人:
奥林巴斯株式会社
发明人:
佐藤良次 | 内山昭夫 | 木村敦志 | 河野宏尚
简单同族:
CN101080198A | CN101080198B | CN101940474A | CN101940474B | CN103251409A | CN103251409B | EP1833366A1 | KR100972253B1 | KR1020070086118A | US20070244388A1 | WO2006064972A1
简单同族成员数量:
11
简单同族被引用专利总数:
128
诉讼案件数:
0
法律状态/事件:
未缴年费