首页
专利数据库
产业人才
行业动态
产业政策法规
维权援助
个人中心
登录/注册
详情
文本
图像
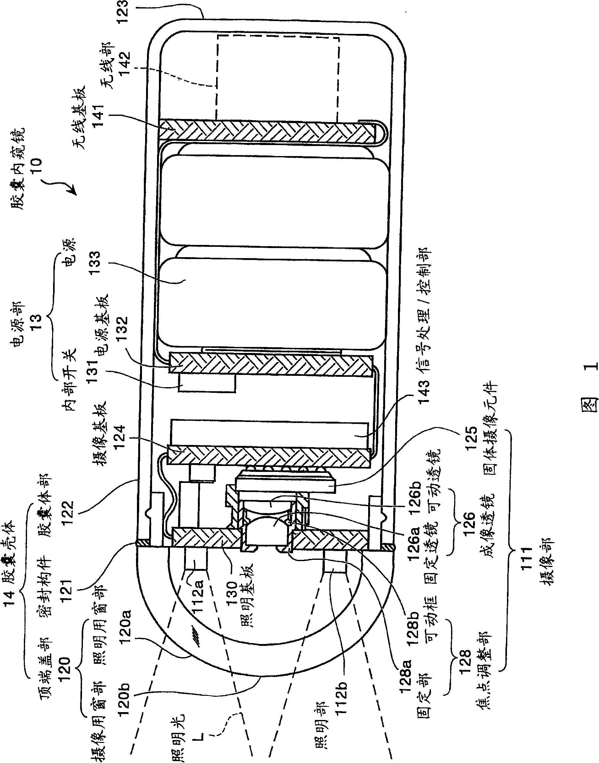
标题:
图像显示装置、图像显示方法以及图像显示程序
授权日:
2008-11-12
公开(公告)号:
CN100431475C
申请日:
2004-04-21
公开(公告)日:
2008-11-12
当前申请(专利权)人:
奥林巴斯株式会社
发明人:
本多武道 | 药袋哲夫
简单同族:
CN100431475C | CN101264001A | CN101264001B | CN101288582A | CN1777390A | US20040225223A1
简单同族成员数量:
6
简单同族被引用专利总数:
118
诉讼案件数:
0
法律状态/事件:
未缴年费