标题:
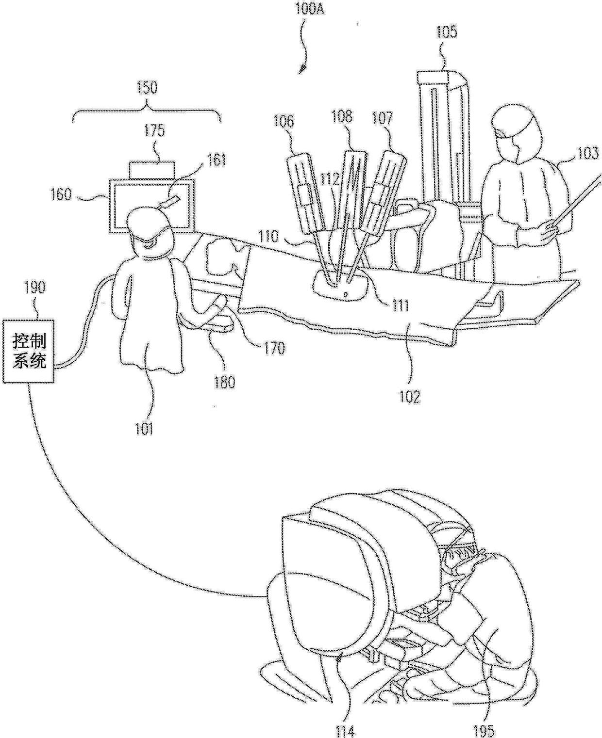
用于远程操作的微创外科手术器械的病人侧外科医生界面
授权日:
1900-01-01
公开(公告)号:
CN102665589A
申请日:
2010-11-11
公开(公告)日:
2012-09-12
当前申请(专利权)人:
直观外科手术操作公司
发明人:
B·D·伊特科维兹
简单同族:
BR112012011324A2 | BR112012011324B1 | CN102665589A | CN102665589B | EP2467082A2 | EP2467082B1 | EP3092968A2 | EP3092968A3 | EP3092968B1 | EP3574860A1 | JP2013510671A | JP2015128681A | JP2017119168A | JP5757955B2 | JP6158246B2 | JP6373440B2 | KR101772958B1 | KR101825712B1 | KR1020120115484A | KR1020170100677A | US20110118748A1 | US20140018960A1 | US8521331 | US8831782 | WO2011060139A2 | WO2011060139A3
简单同族成员数量:
26
简单同族被引用专利总数:
392
诉讼案件数:
0
法律状态/事件:
授权