首页
专利数据库
产业人才
行业动态
产业政策法规
维权援助
个人中心
登录/注册
详情
文本
图像
标题:
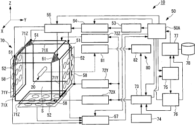
医疗装置的位置检测系统、医疗装置引导系统及医疗装置的位置检测方法
授权日:
1900-01-01
公开(公告)号:
CN101316545A
申请日:
2006-12-04
公开(公告)日:
2008-12-03
当前申请(专利权)人:
奥林巴斯株式会社
发明人:
内山昭夫 | 木村敦志 | 佐藤良次 | 千叶淳
简单同族:
CN101316545A | CN101316545B | DE602006021611D1 | EP1955644A1 | EP1955644A4 | EP1955644B1 | JP4796075B2 | JPWO2007064013A1 | US20090171190A1 | US9002434 | WO2007064013A1
简单同族成员数量:
11
简单同族被引用专利总数:
50
诉讼案件数:
0
法律状态/事件:
未缴年费