首页
专利数据库
产业人才
行业动态
产业政策法规
维权援助
个人中心
登录/注册
详情
文本
图像
标题:
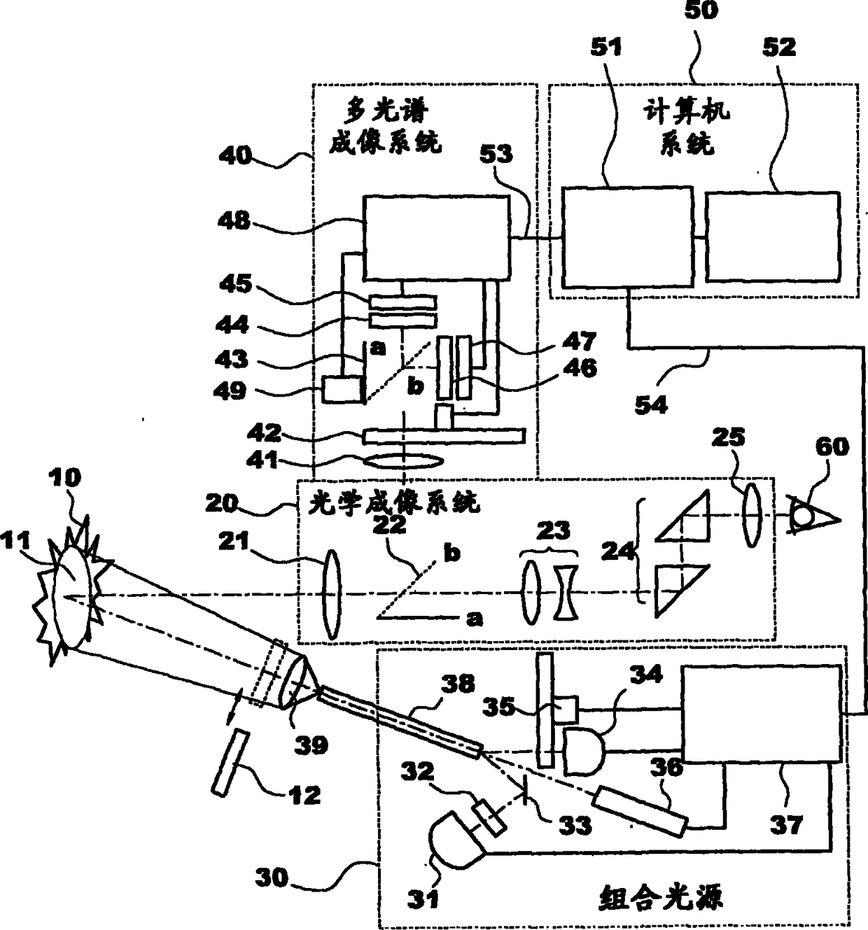
用于光动力治疗和摄影检测的装置
授权日:
2012-12-26
公开(公告)号:
CN101744611B
申请日:
2009-11-17
公开(公告)日:
2012-12-26
当前申请(专利权)人:
韩国电气研究院
发明人:
姜旭 | G・V・帕帕彦
简单同族:
CN101744611A | CN101744611B | GB0911889D0 | GB2466089A | GB2466089B | KR101061004B1 | KR1020100066605A | US20100145416A1 | US8382812
简单同族成员数量:
9
简单同族被引用专利总数:
78
诉讼案件数:
0
法律状态/事件:
授权