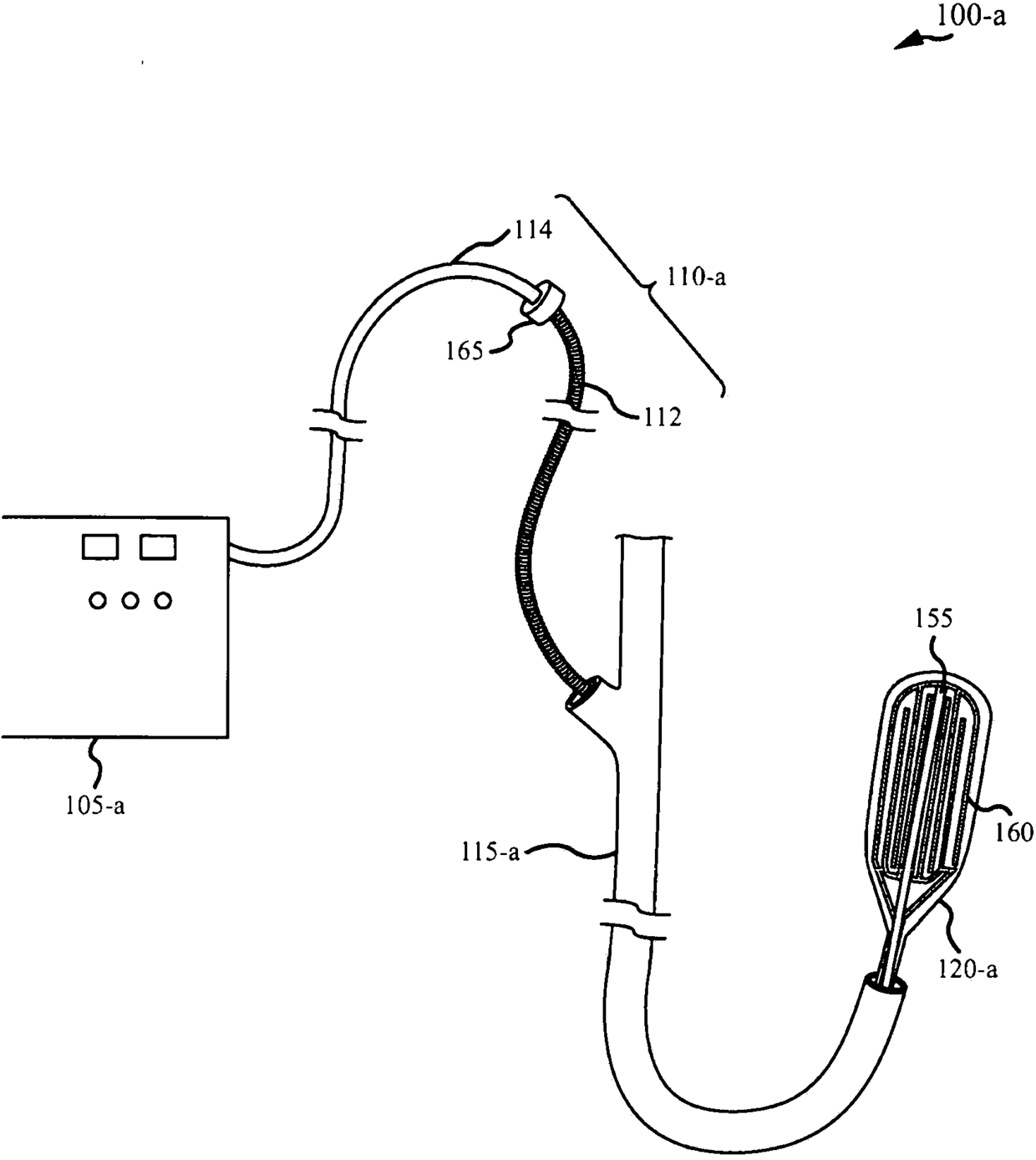
标题:
用于治疗腔组织的系统、装置和方法
授权日:
1900-01-01
公开(公告)号:
CN103889348A
申请日:
2012-08-24
公开(公告)日:
2014-06-25
当前申请(专利权)人:
柯惠有限合伙公司
发明人:
H·K·赫斯扎 | D·S·厄特利 | E·J·格韦德 | A·A·卢宾斯基 | R·C·哈格蒂 | 小G·马塔 | F·P·塞恩-伦 | P·沙赫
简单同族:
AU2012298709A1 | AU2012298709B2 | BR112014004431A2 | CA2846238A1 | CA2846238C | CA2921563A1 | CA2921563C | CN103889348A | CN103889348B | CN106175853A | CN106175853B | EP2747680A2 | EP2747680A4 | EP2747680B1 | EP2789301A1 | EP2789301B1 | EP2792322A1 | EP2792322B1 | EP2792323A1 | EP2792323B1 | EP2796103A1 | EP2796103B1 | JP2014530644A | JP2015231529A | JP5764262B2 | JP6084656B2 | KR101497458B1 | KR1020140072056A | RU2553187C1 | US10398500 | US20140238175A1 | US20140238176A1 | US20140296846A1 | US20140296902A1 | US20140336636A1 | US20140350564A1 | US9131836 | US9414738 | US9420940 | US9532703 | US9713418 | WO2013028998A2 | WO2013028998A3
简单同族成员数量:
43
简单同族被引用专利总数:
61
诉讼案件数:
0
法律状态/事件:
授权