首页
专利数据库
产业人才
行业动态
产业政策法规
维权援助
个人中心
登录/注册
详情
文本
图像
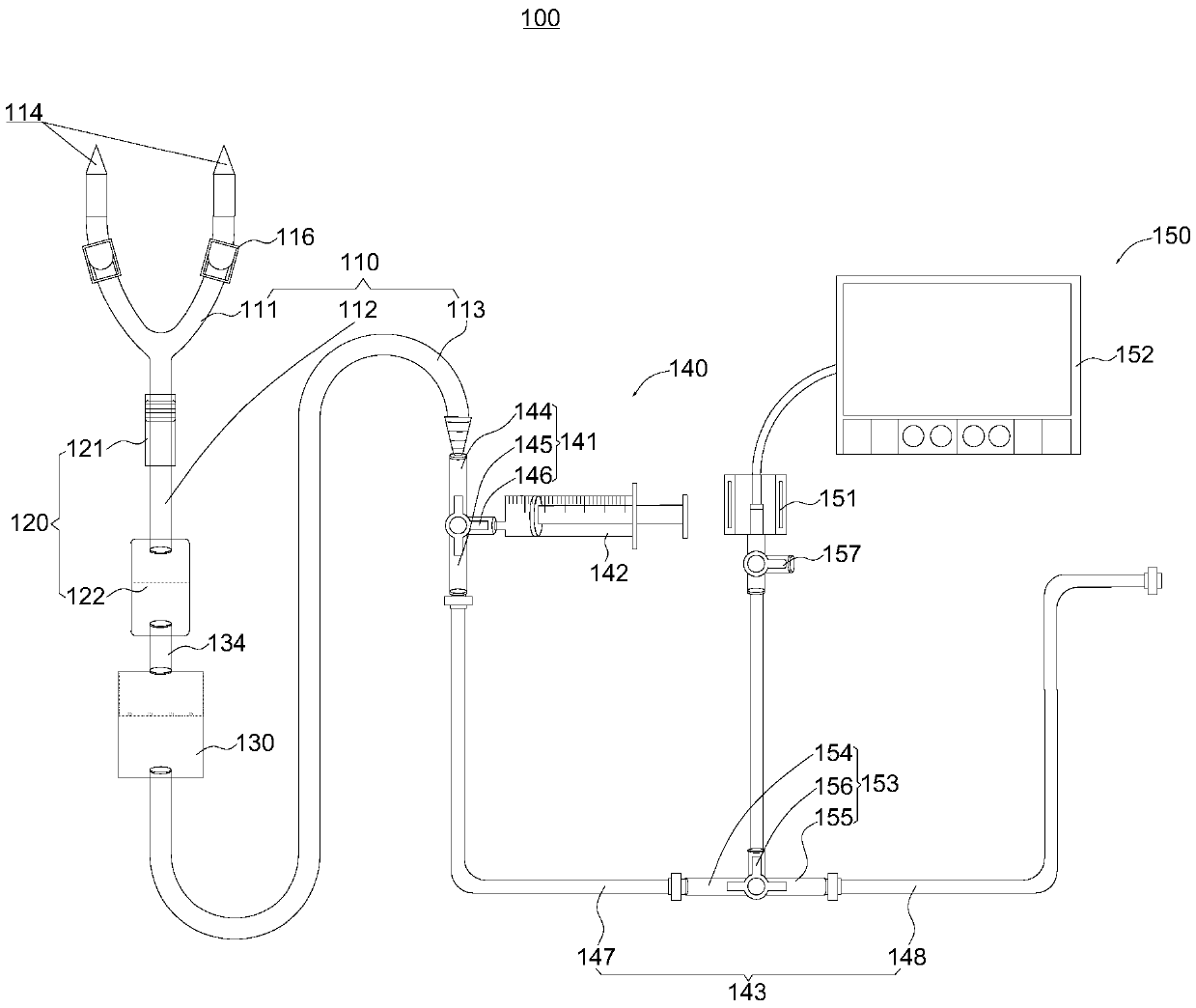
标题:
加压控压连通装置以及术野冲洗装置
授权日:
2019-07-12
公开(公告)号:
CN209092353U
申请日:
2018-07-27
公开(公告)日:
2019-07-12
当前申请(专利权)人:
中国人民解放军北部战区总医院
发明人:
宋越 | 孙莹杰 | 郑晶晶 | 孙静莉 | 张爽 | 金勇 | 孙刚 | 姜力
简单同族:
CN209092353U
简单同族成员数量:
1
简单同族被引用专利总数:
0
诉讼案件数:
0
法律状态/事件:
授权