首页
专利数据库
产业人才
行业动态
产业政策法规
维权援助
个人中心
登录/注册
详情
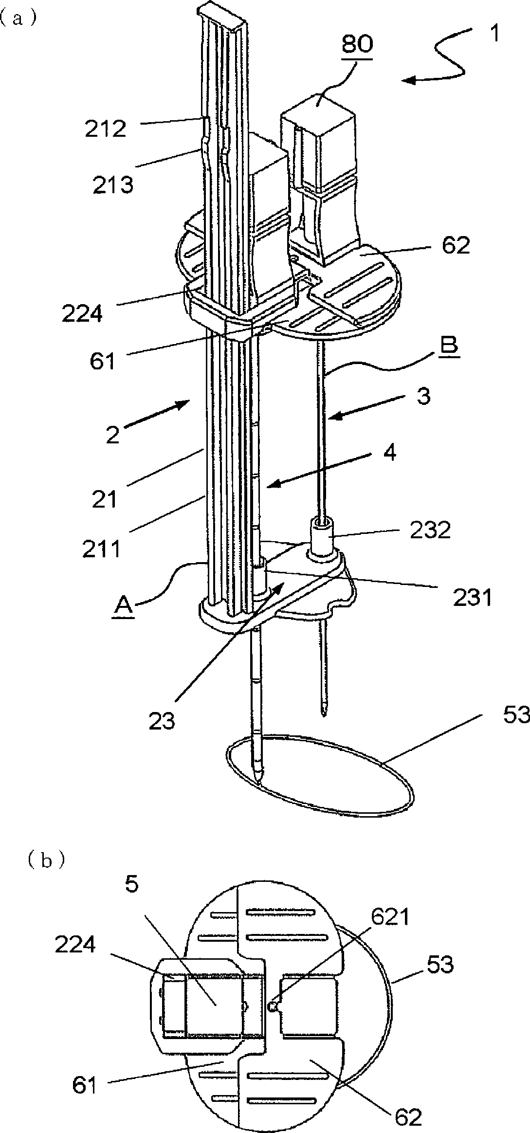
文本
图像
标题:
固定内部器官的医疗器械和方法
授权日:
1900-01-01
公开(公告)号:
CN101415370A
申请日:
2007-02-16
公开(公告)日:
2009-04-22
当前申请(专利权)人:
铃木裕 | 住友电木株式会社
发明人:
铃木裕 | 松波秀明 | 小城康雅 | 坂口幸彦 | 池田昌夫
简单同族:
CN101415370A | CN101415370B | EP2005892A2 | EP2005892A4 | EP2005892A9 | JP2007296319A | JP2007296373A | JP4038524B2 | JP4712765B2 | US20090062817A1 | US8277463 | WO2007129431A1
简单同族成员数量:
12
简单同族被引用专利总数:
60
诉讼案件数:
0
法律状态/事件:
授权