首页
专利数据库
产业人才
行业动态
产业政策法规
维权援助
个人中心
登录/注册
详情
文本
图像
标题:
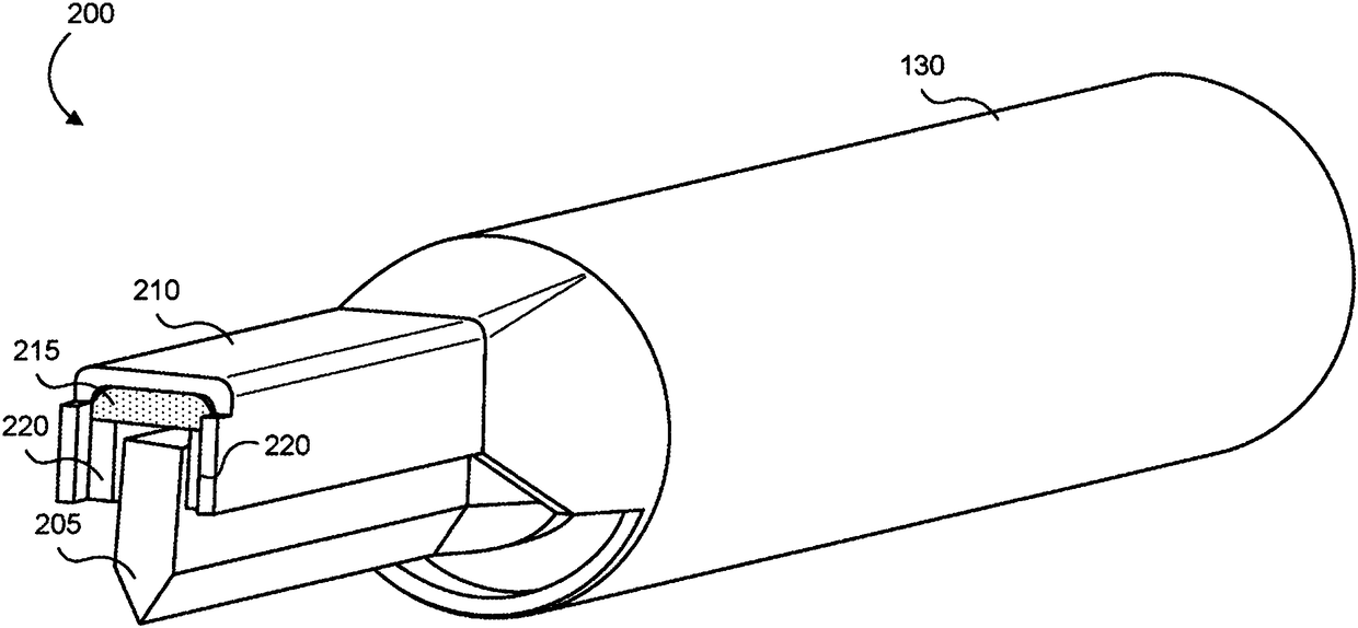
用于使用屏蔽型腹腔镜式胆囊切除术解剖器进行密封的可平移外管
授权日:
1900-01-01
公开(公告)号:
CN107847242A
申请日:
2016-06-24
公开(公告)日:
2018-03-27
当前申请(专利权)人:
伊西康有限责任公司
发明人:
S·P·康伦 | J·B·舒尔特 | T·C·加尔迈耶 | K·G·登津格 | J·T·柯克
简单同族:
BR112017028562A2 | CN107847242A | EP3316801A1 | JP2018519916A | US10357303 | US20170000512A1 | US20200008857A1 | WO2017003849A1
简单同族成员数量:
8
简单同族被引用专利总数:
55
诉讼案件数:
0
法律状态/事件:
实质审查