首页
专利数据库
产业人才
行业动态
产业政策法规
维权援助
个人中心
登录/注册
详情
文本
图像
标题:
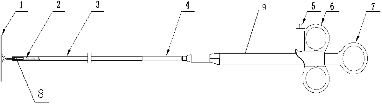
一种新型粘膜切除器
授权日:
2014-01-29
公开(公告)号:
CN203408098U
申请日:
2013-08-01
公开(公告)日:
2014-01-29
当前申请(专利权)人:
常州市久虹医疗器械有限公司 | 沈伟明
发明人:
沈伟明
简单同族:
CN203408098U
简单同族成员数量:
1
简单同族被引用专利总数:
0
诉讼案件数:
0
法律状态/事件:
授权