首页
专利数据库
产业人才
行业动态
产业政策法规
维权援助
个人中心
登录/注册
详情
文本
图像
标题:
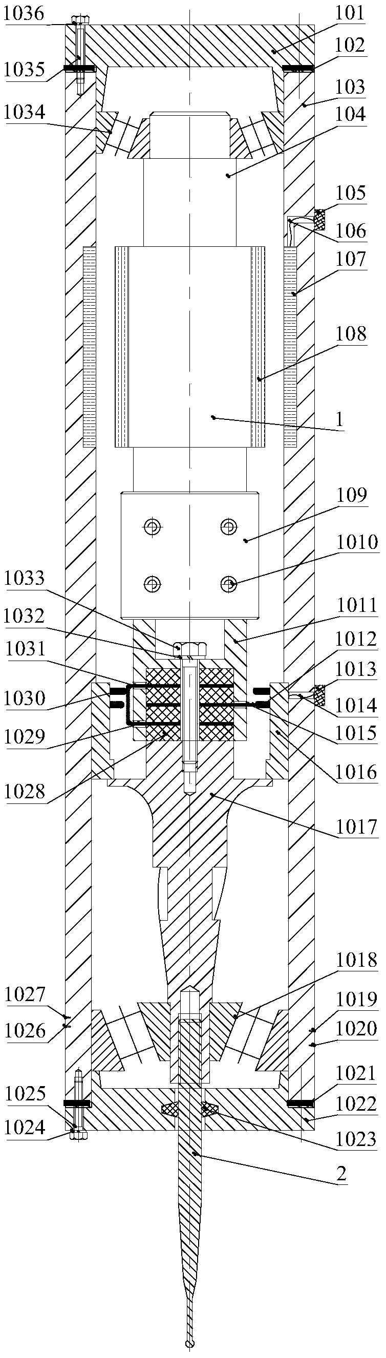
旋转超声共振捕水磨削装置及生物骨低损伤可控磨削装置
授权日:
2019-07-16
公开(公告)号:
CN209107484U
申请日:
2017-11-21
公开(公告)日:
2019-07-16
当前申请(专利权)人:
青岛理工大学
发明人:
杨敏 | 李长河 | 贾东洲 | 张彦彬 | 李润泽 | 张效伟 | 侯亚丽
简单同族:
CN209107484U
简单同族成员数量:
1
简单同族被引用专利总数:
0
诉讼案件数:
0
法律状态/事件:
授权