首页
专利数据库
产业人才
行业动态
产业政策法规
维权援助
个人中心
登录/注册
详情
文本
图像
标题:
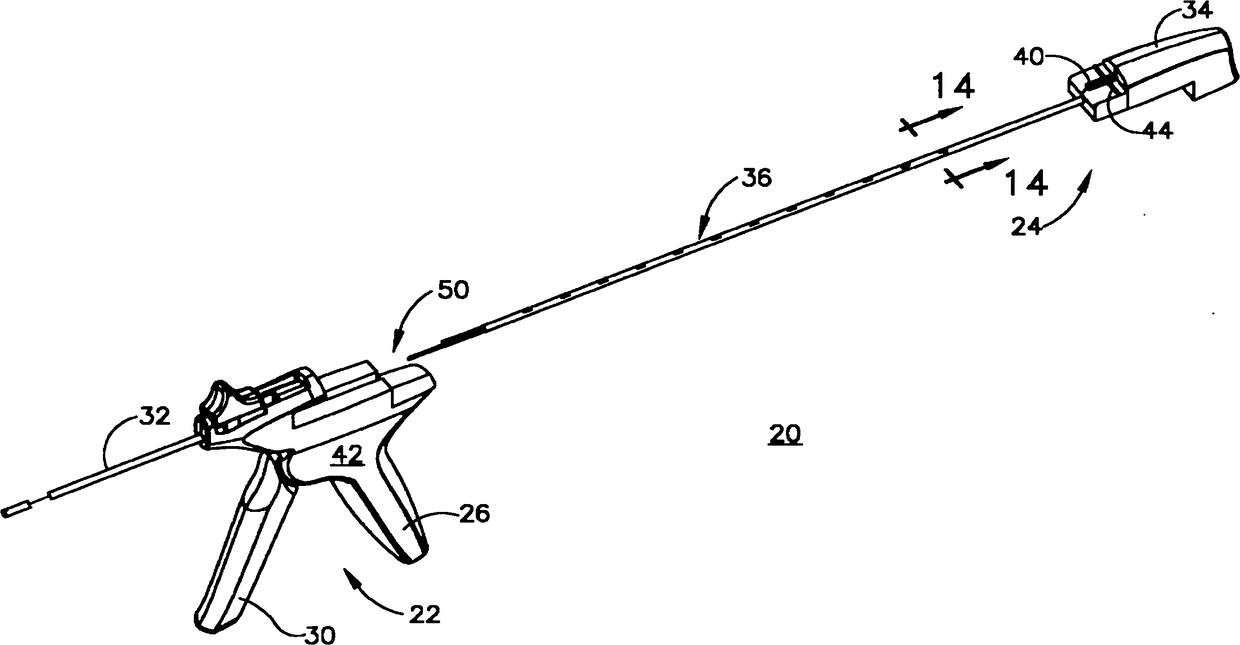
用于胃减容术的可重新装入的腹腔镜式紧固件配置装置的仓
授权日:
1900-01-01
公开(公告)号:
CN102137625A
申请日:
2009-07-23
公开(公告)日:
2011-07-27
当前申请(专利权)人:
伊西康内外科公司
发明人:
M·S·齐纳 | J·L·哈里斯 | M·J·斯托克斯 | M·D·霍尔库姆 | M·S·奥尔蒂斯 | L·克雷尼克 | A·P·康多尔
简单同族:
BRPI0916861A2 | CA2731839A1 | CN102137625A | EP2320805A1 | JP2011528953A | RU2011106947A | US20100023022A1 | WO2010011829A1
简单同族成员数量:
8
简单同族被引用专利总数:
88
诉讼案件数:
0
法律状态/事件:
撤回