首页
专利数据库
产业人才
行业动态
产业政策法规
维权援助
个人中心
登录/注册
详情
文本
图像
标题:
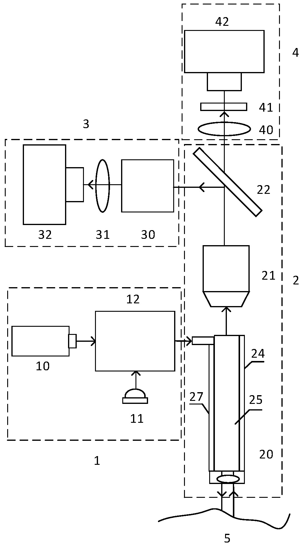
基于高光谱和荧光成像引导的光动力精准治疗系统
授权日:
1900-01-01
公开(公告)号:
CN110478625A
申请日:
2019-08-21
公开(公告)日:
2019-11-22
当前申请(专利权)人:
中国科学院苏州生物医学工程技术研究所
发明人:
葛明锋 | 董文飞 | 程文播 | 李力 | 梅茜 | 常智敏 | 邵昊华 | 唐凌宇
简单同族:
CN110478625A
简单同族成员数量:
1
简单同族被引用专利总数:
0
诉讼案件数:
0
法律状态/事件:
实质审查