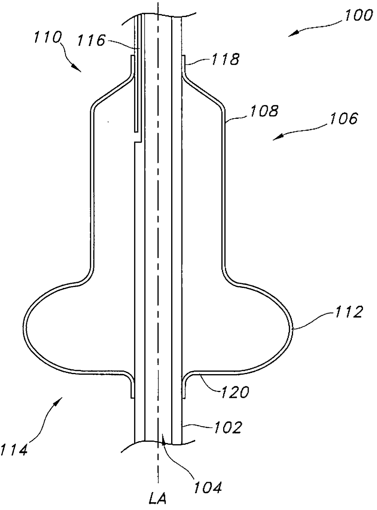
标题:
用于放置导管的扩张装置
授权日:
1900-01-01
公开(公告)号:
CN103298421A
申请日:
2011-09-27
公开(公告)日:
2013-09-11
当前申请(专利权)人:
阿文特公司
发明人:
K-M·泰 | D·J·麦克迈克尔 | J·A·罗特拉 | N·C·格里菲斯 | E·A·赖卡特 | S·A·霍利 | E·B·梅森
简单同族:
AU2011309682A1 | AU2011309682B2 | AU2011309683A1 | AU2011309683B2 | AU2011309684A1 | AU2011309684B2 | AU2011309685A1 | AU2011309685B2 | AU2016200661A1 | AU2016200661B2 | BR112013007168A2 | BR112013007169A2 | BR112013007170A2 | CA2811246A1 | CA2811308A1 | CA2811308C | CA2811425A1 | CA2811425C | CA2812720A1 | CA2812720C | CN103124533A | CN103124533B | CN103124548A | CN103124548B | CN103189034A | CN103189034B | CN103298421A | CN103298421B | EP2621378A1 | EP2621378B1 | EP2621379A1 | EP2621379B1 | EP2621453A1 | EP2621454A1 | EP2621454B1 | JP2013537832A | JP2013540499A | JP2013540500A | JP2013543391A | JP2016028787A | JP5830103B2 | JP5834081B2 | JP5977747B2 | JP6042336B2 | JP6127118B2 | KR101835381B1 | KR101841949B1 | KR101908933B1 | KR1020130105841A | KR1020130109111A | KR1020130138204A | KR1020130139886A | MX2013003336A | MX2013003485A | MX2013003487A | MX2013003488A | MX333690B | MX341777B | MX342252B | MX353296B | RU2013116379A | RU2013116380A | RU2013116381A | RU2013116382A | RU2016136325A | RU2586254C2 | RU2589686C2 | RU2600278C2 | RU2604042C2 | US10322067 | US20120078039A1 | US20120078167A1 | US20120078174A1 | US20120078176A1 | US20170135908A1 | US9125800 | US9211234 | US9339442 | WO2012042473A1 | WO2012042474A1 | WO2012042475A1 | WO2012042476A1
简单同族成员数量:
82
简单同族被引用专利总数:
63
诉讼案件数:
0
法律状态/事件:
授权 | 权利转移