首页
专利数据库
产业人才
行业动态
产业政策法规
维权援助
个人中心
登录/注册
详情
文本
图像
标题:
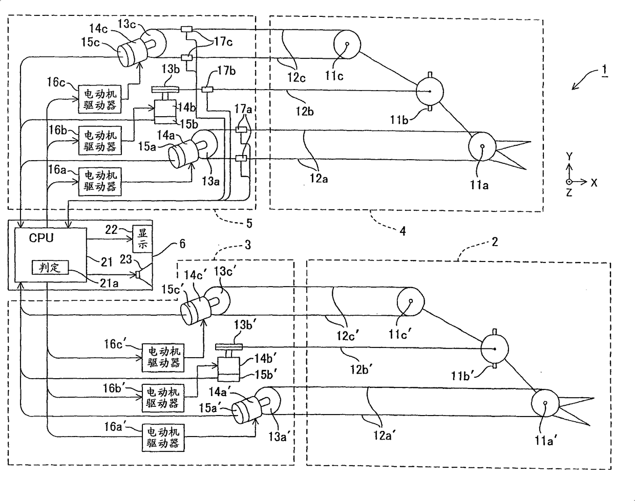
能动医疗设备系统
授权日:
2012-07-18
公开(公告)号:
CN101642363B
申请日:
2009-08-05
公开(公告)日:
2012-07-18
当前申请(专利权)人:
奥林巴斯株式会社
发明人:
吉江方史
简单同族:
CN101642363A | CN101642363B | EP2151182A1 | EP2151182B1 | JP2010035874A | JP5139194B2 | US20100160728A1
简单同族成员数量:
7
简单同族被引用专利总数:
43
诉讼案件数:
0
法律状态/事件:
授权 | 权利转移