首页
专利数据库
产业人才
行业动态
产业政策法规
维权援助
个人中心
登录/注册
详情
文本
图像
标题:
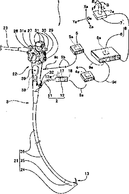
医疗装置
授权日:
1900-01-01
公开(公告)号:
CN101416866A
申请日:
2008-10-22
公开(公告)日:
2009-04-29
当前申请(专利权)人:
奥林巴斯株式会社
发明人:
杉山勇太 | 高桥和彦
简单同族:
CN101416866A | CN101416866B | EP2052671A2 | EP2052671A3 | EP2052671B1 | JP2009101077A | JP5237608B2 | US20090112060A1 | US8187169
简单同族成员数量:
9
简单同族被引用专利总数:
75
诉讼案件数:
0
法律状态/事件:
授权 | 权利转移