首页
专利数据库
产业人才
行业动态
产业政策法规
维权援助
个人中心
登录/注册
详情
文本
图像
标题:
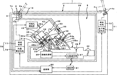
医疗器械洗涤消毒系统
授权日:
2009-01-28
公开(公告)号:
CN100455254C
申请日:
2006-07-13
公开(公告)日:
2009-01-28
当前申请(专利权)人:
奥林巴斯医疗株式会社
发明人:
野口利昭 | 铃木英理
简单同族:
CN100455254C | CN1895159A | CN2922786Y | EP1902670A1 | EP1902670A4 | JP2007020729A | KR1020080019288A | US20090217956A1 | WO2007007482A1
简单同族成员数量:
9
简单同族被引用专利总数:
54
诉讼案件数:
0
法律状态/事件:
未缴年费