首页
专利数据库
产业人才
行业动态
产业政策法规
维权援助
个人中心
登录/注册
详情
文本
图像
标题:
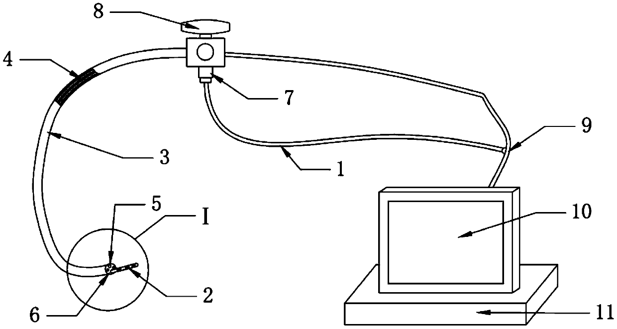
一种胃肠道黏膜上皮电阻抗测量评估装置
授权日:
2020-01-10
公开(公告)号:
CN209915992U
申请日:
2019-02-15
公开(公告)日:
2020-01-10
当前申请(专利权)人:
华中科技大学同济医学院附属协和医院
发明人:
向雪莲 | 张小昊 | 许军英 | 白涛 | 谢小平 | 刘俊 | 侯晓华
简单同族:
CN209915992U
简单同族成员数量:
1
简单同族被引用专利总数:
0
诉讼案件数:
0
法律状态/事件:
授权