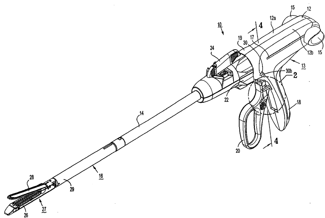
标题:
抓紧钳机构
授权日:
2015-05-20
公开(公告)号:
CN102688074B
申请日:
2007-10-08
公开(公告)日:
2015-05-20
当前申请(专利权)人:
柯惠LP公司
发明人:
保罗·A·西里卡
简单同族:
AU2007221784A1 | AU2007221784B2 | CA2604994A1 | CA2604994C | CA2895725A1 | CA2895725C | CA3003793A1 | CN101156801A | CN101156801B | CN101940483A | CN101940483B | CN102688074A | CN102688074B | DE602007004051D1 | EP1908410A1 | EP1908410B1 | ES2337842T3 | JP2008093421A | JP2012254323A | JP2014193299A | JP5268184B2 | JP5529222B2 | US10441282 | US20080083806A1 | US20130087600A1 | US20160270786A1 | US20200008805A1 | US8336751 | US9364218
简单同族成员数量:
29
简单同族被引用专利总数:
154
诉讼案件数:
0
法律状态/事件:
授权