首页
专利数据库
产业人才
行业动态
产业政策法规
维权援助
个人中心
登录/注册
详情
文本
图像
标题:
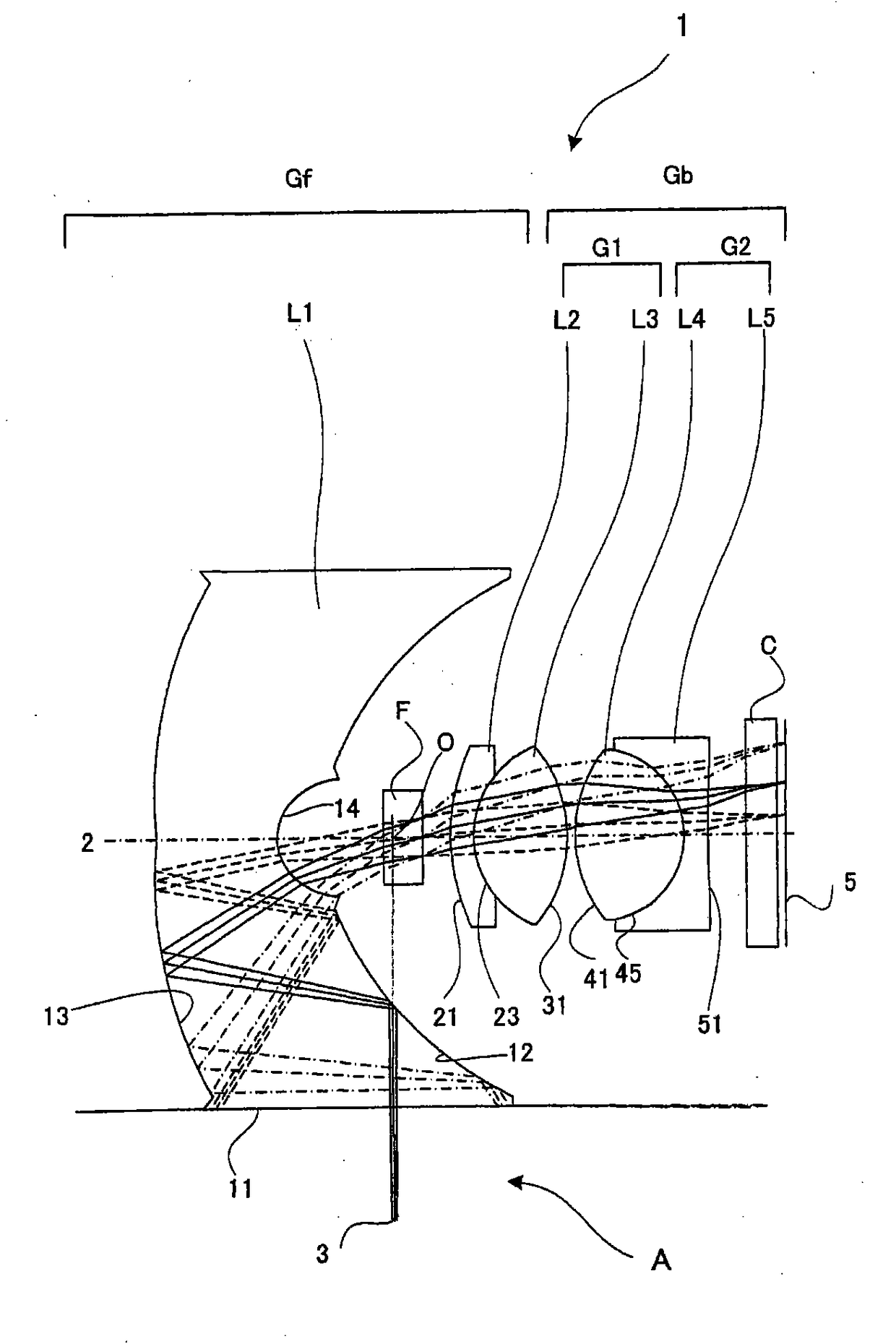
光学系统及应用该光学系统的内窥镜
授权日:
2013-07-03
公开(公告)号:
CN101688970B
申请日:
2008-07-08
公开(公告)日:
2013-07-03
当前申请(专利权)人:
奥林巴斯株式会社
发明人:
研野孝吉
简单同族:
CN101688970A | CN101688970B | EP2172798A1 | EP2172798A4 | EP2172798B1 | US20100110564A1 | US8254038 | WO2009008536A1
简单同族成员数量:
8
简单同族被引用专利总数:
79
诉讼案件数:
0
法律状态/事件:
授权