首页
专利数据库
产业人才
行业动态
产业政策法规
维权援助
个人中心
登录/注册
详情
文本
图像
标题:
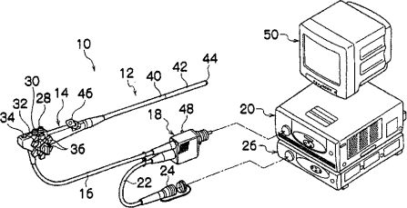
摄像设备和具有该摄像设备的内窥镜
授权日:
1900-01-01
公开(公告)号:
CN101808569A
申请日:
2008-09-26
公开(公告)日:
2010-08-18
当前申请(专利权)人:
富士胶片株式会社
发明人:
木户孝 | 铃木久
简单同族:
CN101808569A | EP2194835A1 | EP2194835A4 | EP2194835B1 | JP2009082503A | JP2009082503A5 | US20100201794A1 | WO2009041724A1
简单同族成员数量:
8
简单同族被引用专利总数:
62
诉讼案件数:
0
法律状态/事件:
放弃