首页
专利数据库
产业人才
行业动态
产业政策法规
维权援助
个人中心
登录/注册
详情
文本
图像
标题:
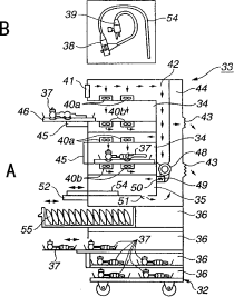
用于蒸汽杀菌的储存设备
授权日:
1900-01-01
公开(公告)号:
CN1717255A
申请日:
2003-10-22
公开(公告)日:
2006-01-04
当前申请(专利权)人:
奥林巴斯株式会社
发明人:
黑岛尚士 | 铃木英理 | 长谷川准 | 野口利昭
简单同族:
CN100453120C | CN1717255A | EP1566185A1 | EP1566185A4 | JP2004173850A | US20040101456A1 | WO2004047876A1
简单同族成员数量:
7
简单同族被引用专利总数:
95
诉讼案件数:
0
法律状态/事件:
未缴年费