首页
专利数据库
产业人才
行业动态
产业政策法规
维权援助
个人中心
登录/注册
详情
文本
图像
标题:
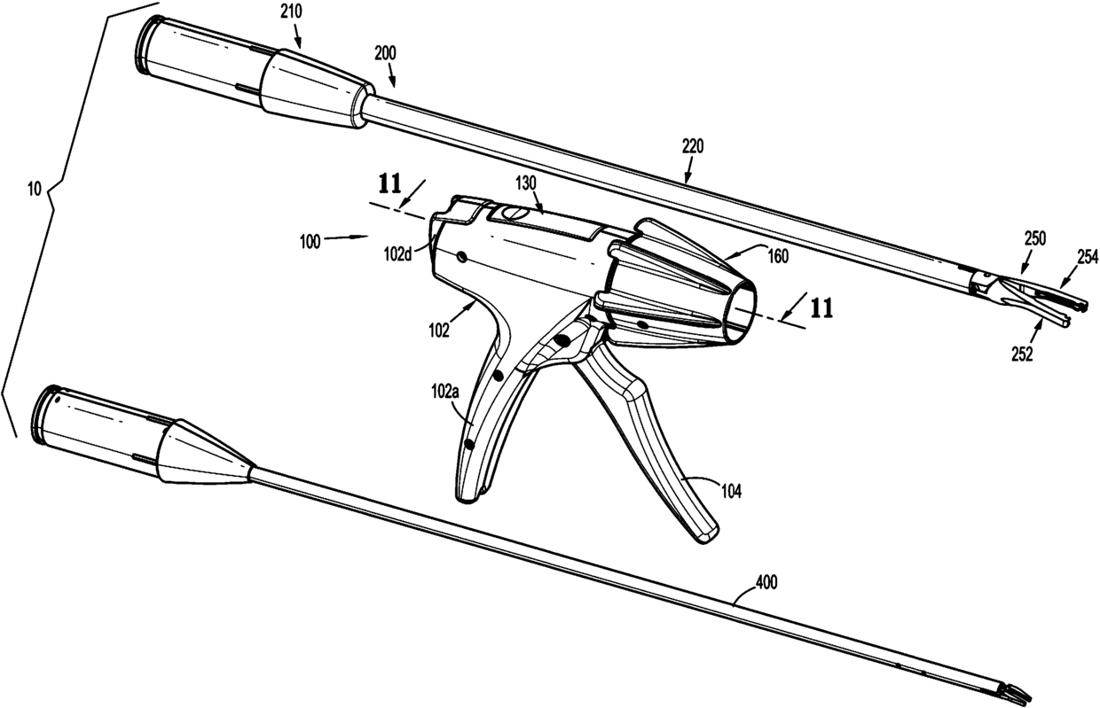
内窥镜可再用手术施夹器
授权日:
1900-01-01
公开(公告)号:
CN107440766A
申请日:
2017-05-26
公开(公告)日:
2017-12-08
当前申请(专利权)人:
柯惠LP公司
发明人:
雅各布·巴里尔 | 布赖恩·克雷斯顿
简单同族:
CN107440766A | EP3251615A1 | EP3251615B1 | JP2017213370A | US20170340325A1
简单同族成员数量:
5
简单同族被引用专利总数:
38
诉讼案件数:
0
法律状态/事件:
实质审查