标题:
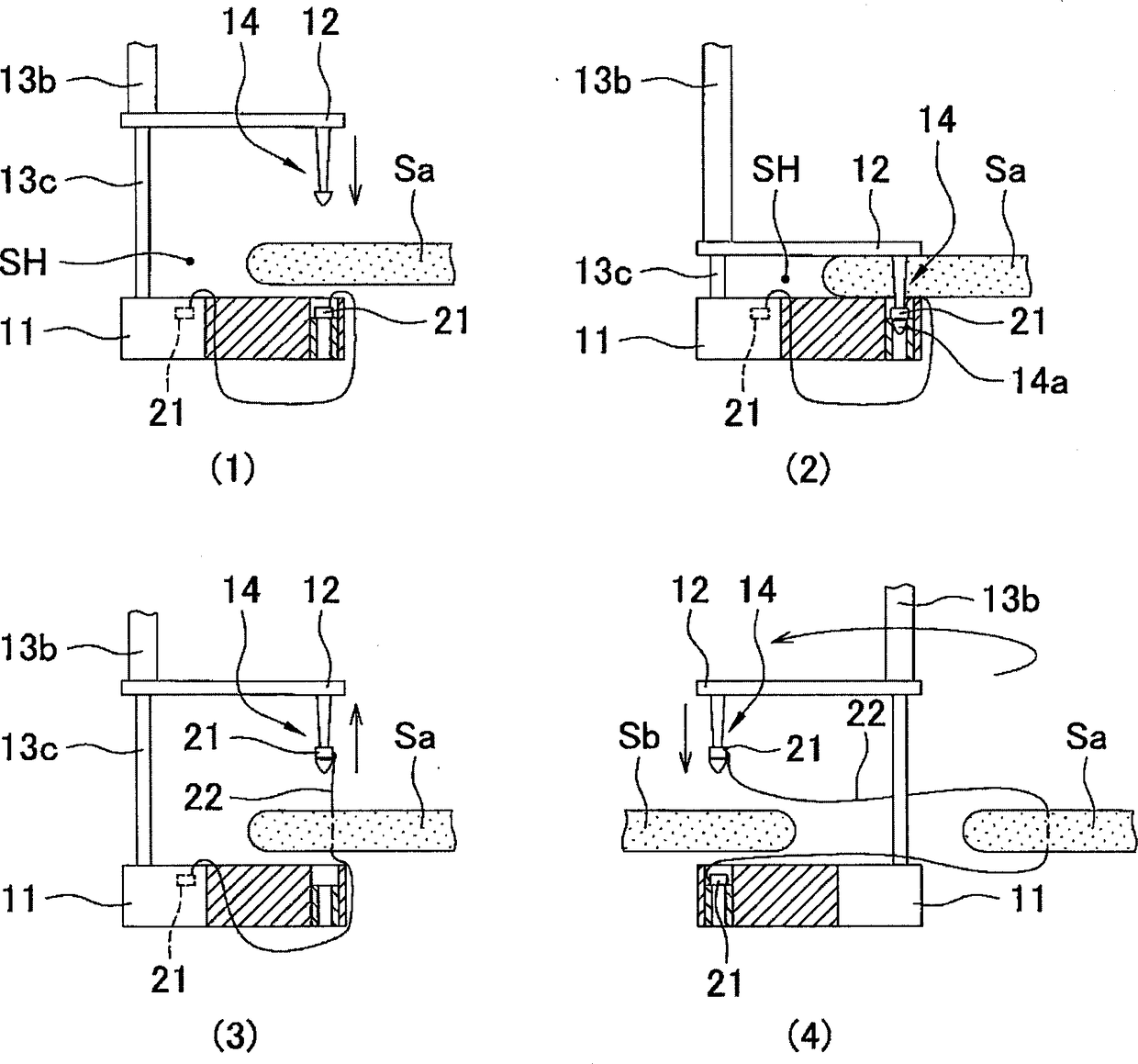
缝合装置
授权日:
1900-01-01
公开(公告)号:
CN103402442A
申请日:
2012-01-23
公开(公告)日:
2013-11-20
当前申请(专利权)人:
国立大学法人香川大学 | 瑞翁株式会社
发明人:
森宏仁 | 杉谷龙朗 | 百濑良仁
简单同族:
CN103402442A | CN103402442B | EP2668909A1 | EP2668909A4 | EP2668909B1 | JP5294181B2 | JPWO2012101999A1 | KR101562444B1 | KR1020130094350A | RU2013139054A | RU2573056C2 | SG192154A1 | US20140121457A1 | US9579096 | WO2012101999A1
简单同族成员数量:
15
简单同族被引用专利总数:
30
诉讼案件数:
0
法律状态/事件:
授权 | 权利转移