首页
专利数据库
产业人才
行业动态
产业政策法规
维权援助
个人中心
登录/注册
详情
文本
图像
标题:
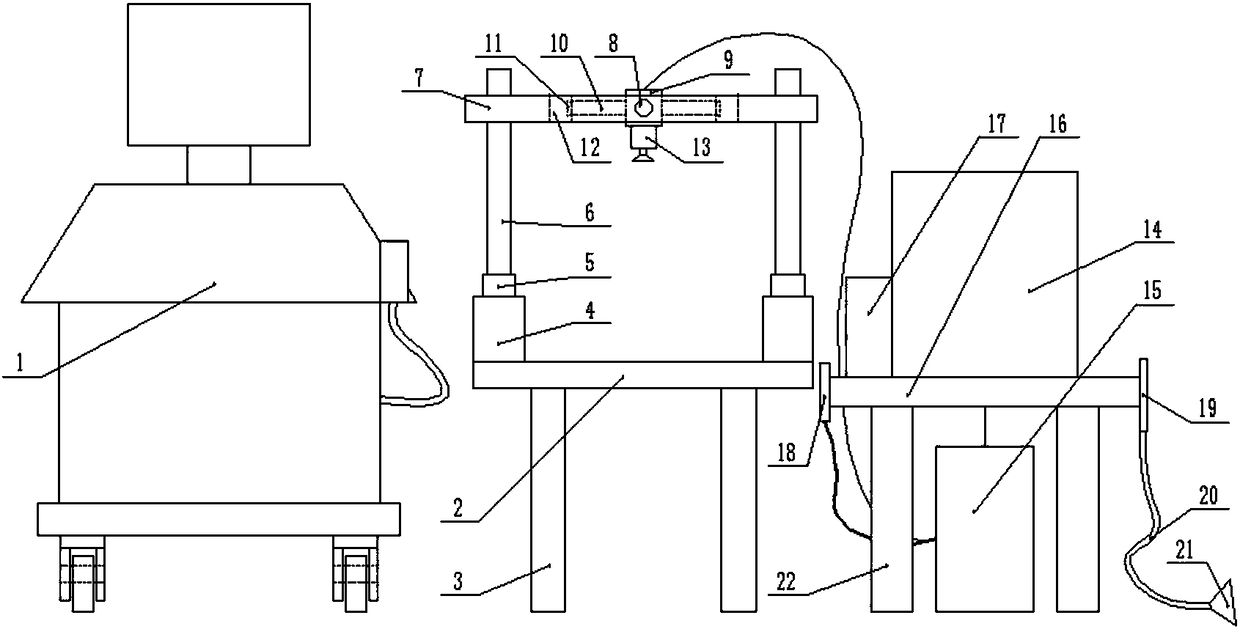
一种胃镜超声复合模态成像装置
授权日:
2018-07-06
公开(公告)号:
CN207575169U
申请日:
2018-04-02
公开(公告)日:
2018-07-06
当前申请(专利权)人:
高峻岭
发明人:
高峻岭 | 苑晓洁 | 玉素甫江·吾布力
简单同族:
CN207575169U
简单同族成员数量:
1
简单同族被引用专利总数:
0
诉讼案件数:
0
法律状态/事件:
授权