首页
专利数据库
产业人才
行业动态
产业政策法规
维权援助
个人中心
登录/注册
详情
文本
图像
标题:
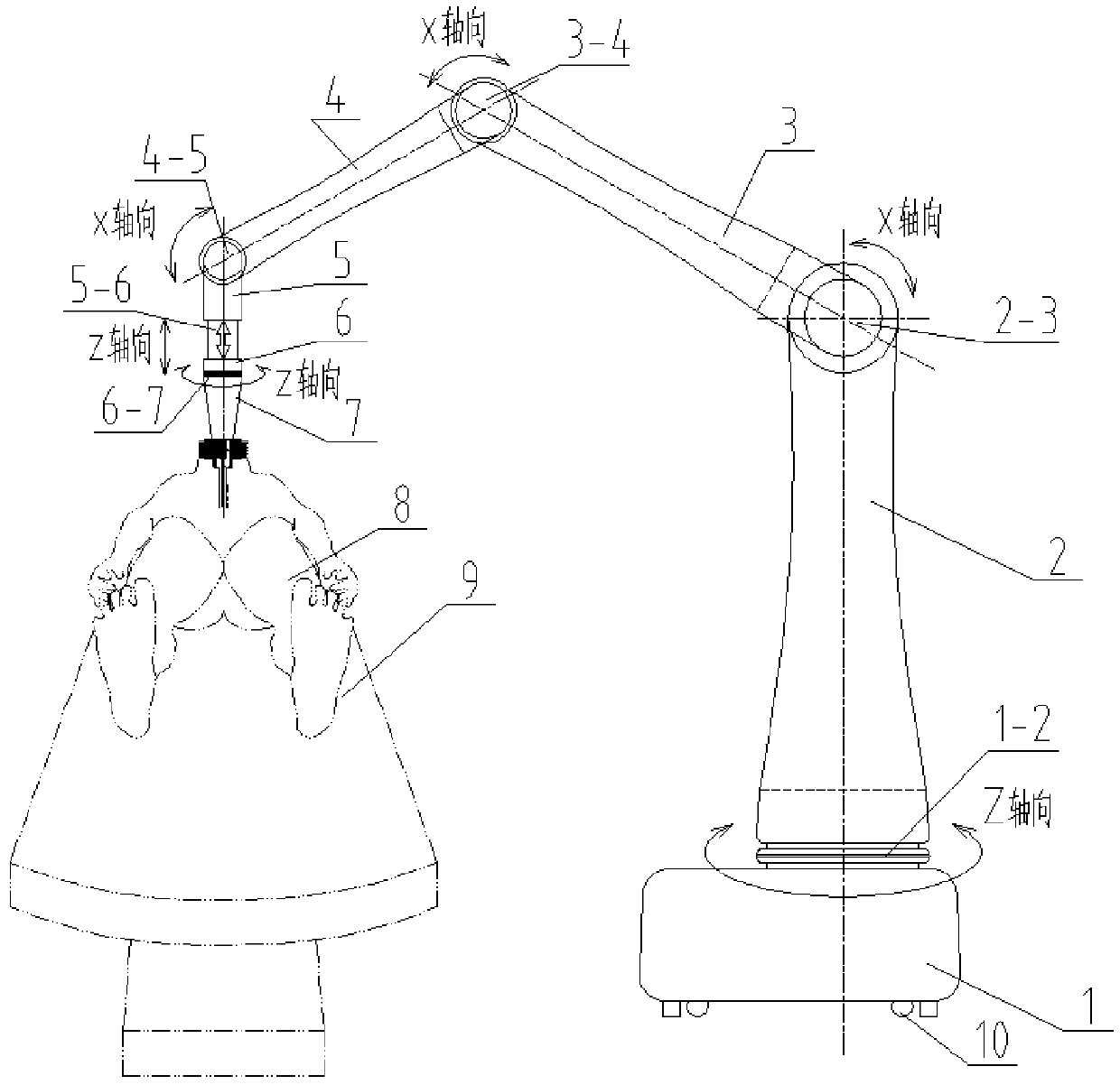
一种嵌套式辅助微创外科单孔手术机器人
授权日:
2019-10-25
公开(公告)号:
CN209529332U
申请日:
2018-11-15
公开(公告)日:
2019-10-25
当前申请(专利权)人:
山东大学齐鲁医院
发明人:
胡三元 | 冯红光 | 程晓林 | 田兆辉 | 姜秀新 | 樊炳辉
简单同族:
CN209529332U
简单同族成员数量:
1
简单同族被引用专利总数:
0
诉讼案件数:
0
法律状态/事件:
授权