首页
专利数据库
产业人才
行业动态
产业政策法规
维权援助
个人中心
登录/注册
详情
文本
图像
标题:
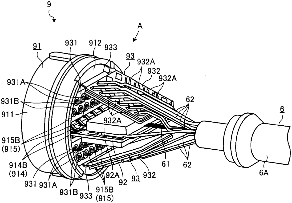
光电复合模块、摄像机头和内窥镜装置
授权日:
1900-01-01
公开(公告)号:
CN105025777A
申请日:
2014-12-25
公开(公告)日:
2015-11-04
当前申请(专利权)人:
索尼奥林巴斯医疗解决方案公司
发明人:
户松景
简单同族:
CN105025777A | CN105025777B | EP2954835A1 | EP2954835A4 | EP2954835B1 | EP3020324A2 | EP3020324A3 | EP3020324B1 | JP2015134039A | JP5806343B2 | US20150335230A1 | US20160313552A1 | US9810898 | WO2015107852A1
简单同族成员数量:
14
简单同族被引用专利总数:
35
诉讼案件数:
0
法律状态/事件:
授权