首页
专利数据库
产业人才
行业动态
产业政策法规
维权援助
个人中心
登录/注册
详情
文本
图像
标题:
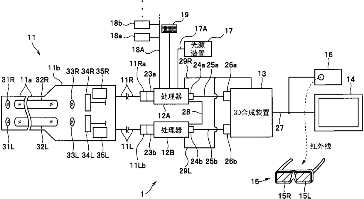
医疗设备系统
授权日:
2015-09-16
公开(公告)号:
CN103458767B
申请日:
2012-08-09
公开(公告)日:
2015-09-16
当前申请(专利权)人:
奥林巴斯株式会社
发明人:
浦崎刚 | 大岛龙 | 玉井宏
简单同族:
CN103458767A | CN103458767B | EP2674099A1 | EP2674099A4 | EP2674099B1 | JP5331948B2 | JPWO2013031512A1 | US20130300829A1 | US8817077 | WO2013031512A1
简单同族成员数量:
10
简单同族被引用专利总数:
34
诉讼案件数:
0
法律状态/事件:
授权 | 权利转移