标题:
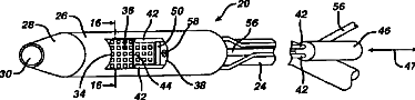
带有外管的内窥镜的粘膜切除装置及使用方法
授权日:
2009-06-10
公开(公告)号:
CN100496412C
申请日:
2004-09-28
公开(公告)日:
2009-06-10
当前申请(专利权)人:
伊西康内外科公司
发明人:
R·诺比斯 | M·克莱姆 | C·J·赫斯
简单同族:
AU2004214627A1 | CA2482572A1 | CA2482572C | CN100496412C | CN1602813A | DE602004010214D1 | DE602004010214T2 | EP1518507A1 | EP1518507B1 | JP2005103269A | JP4578912B2 | KR101045768B1 | KR1020050031448A | US20050070763A1 | US20070118166A1 | US7169115 | US8167877
简单同族成员数量:
17
简单同族被引用专利总数:
240
诉讼案件数:
0
法律状态/事件:
未缴年费