首页
专利数据库
产业人才
行业动态
产业政策法规
维权援助
个人中心
登录/注册
详情
文本
图像
标题:
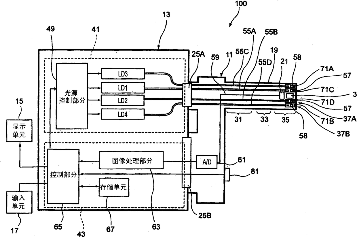
医疗设备和内窥镜设备
授权日:
1900-01-01
公开(公告)号:
CN102119846A
申请日:
2010-12-31
公开(公告)日:
2011-07-13
当前申请(专利权)人:
富士胶片株式会社
发明人:
江利川昭彦
简单同族:
CN102119846A | EP2343006A1 | JP2011156339A | US20110172492A1
简单同族成员数量:
4
简单同族被引用专利总数:
42
诉讼案件数:
0
法律状态/事件:
撤回